GM Service Manual Online
For 1990-2009 cars only
Makes
🢒
Chevrolet
🢒
2001
🢒
Venture Ext.
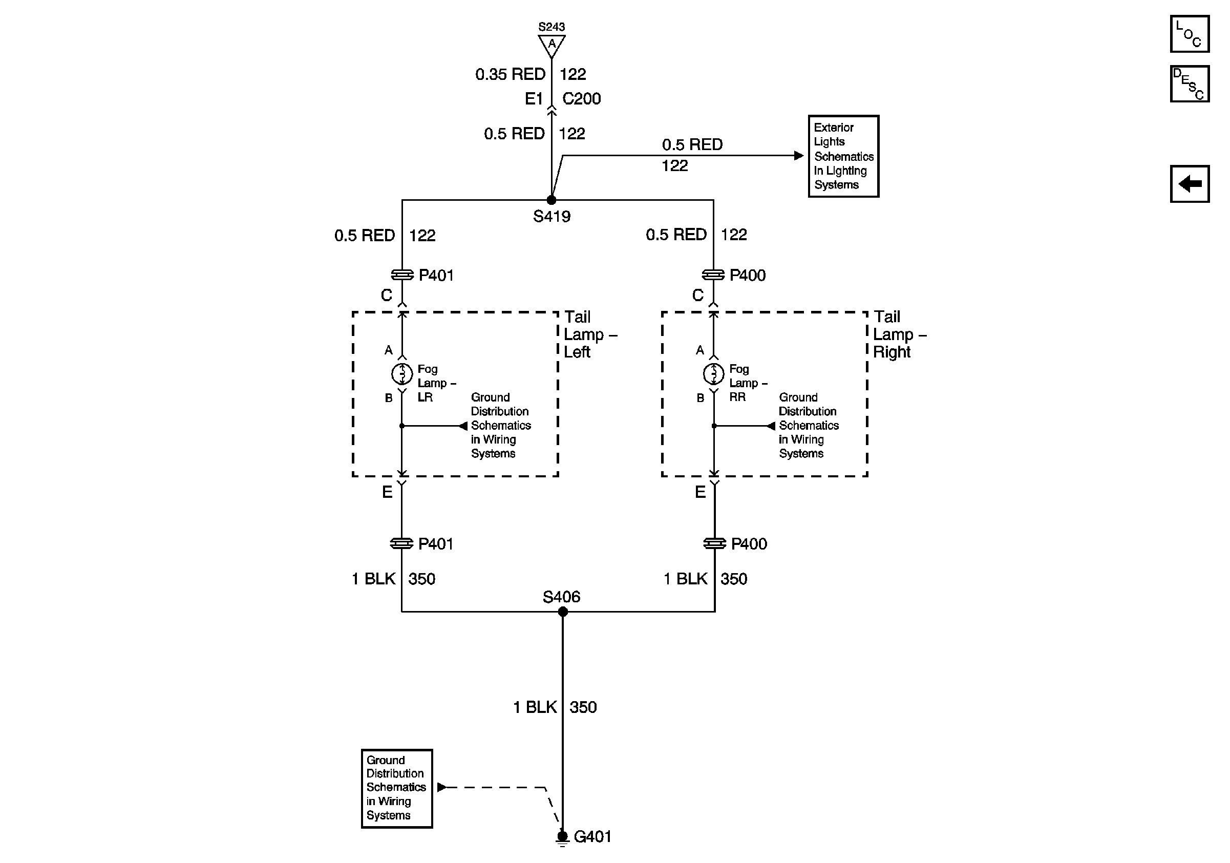
🢒 Export Rear Fog Lights
Export Rear Fog Lights
Export Rear Fog Lights
Export Rear Fog Lights
Export Trailer Wiring, Power and Ground
G401 and G402
Master Electrical Component List
Exterior Lighting Systems Description and Operation
Export Rear Fog Lights