GM Service Manual Online
For 1990-2009 cars only
Makes
🢒
Chevrolet
🢒
2001
🢒
Venture Ext.
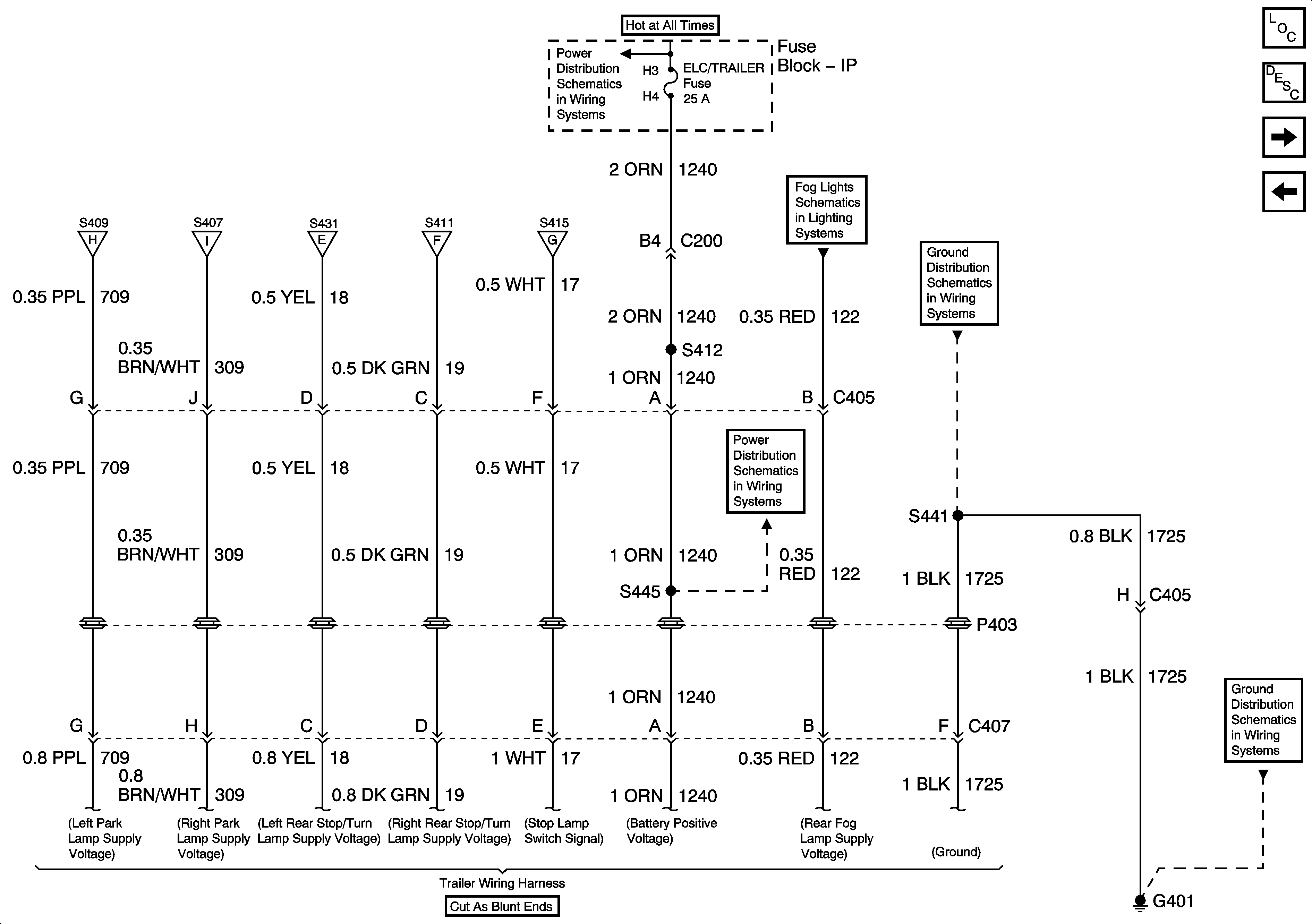
🢒 Export Trailer Wiring, Power and Ground
Export Trailer Wiring, Power and Ground
Export Trailer Wiring, Power and Ground
BATT MAIN 2, ELC/TRAILER, RR DEFOG, RR FOG LP Fuses and PWR/HEATED SEAT PSD Circuit Breaker
Export Taillamps
Export Taillamps
Export Turn and Side Marker Lamps
Export Turn and Side Marker Lamps
Export Stoplamps and CHMSL
Export Rear Fog Lights
G401
BATT MAIN 2, ELC/TRAILER, RR DEFOG, RR FOG LP Fuses and PWR/HEATED SEAT PSD Circuit Breaker
G401
Master Electrical Component List
Exterior Lighting Systems Description and Operation
Export Backup Lights
Export Stoplamps and CHMSL