GM Service Manual Online
For 1990-2009 cars only
Makes
🢒
Chevrolet
🢒
2001
🢒
Venture Ext.
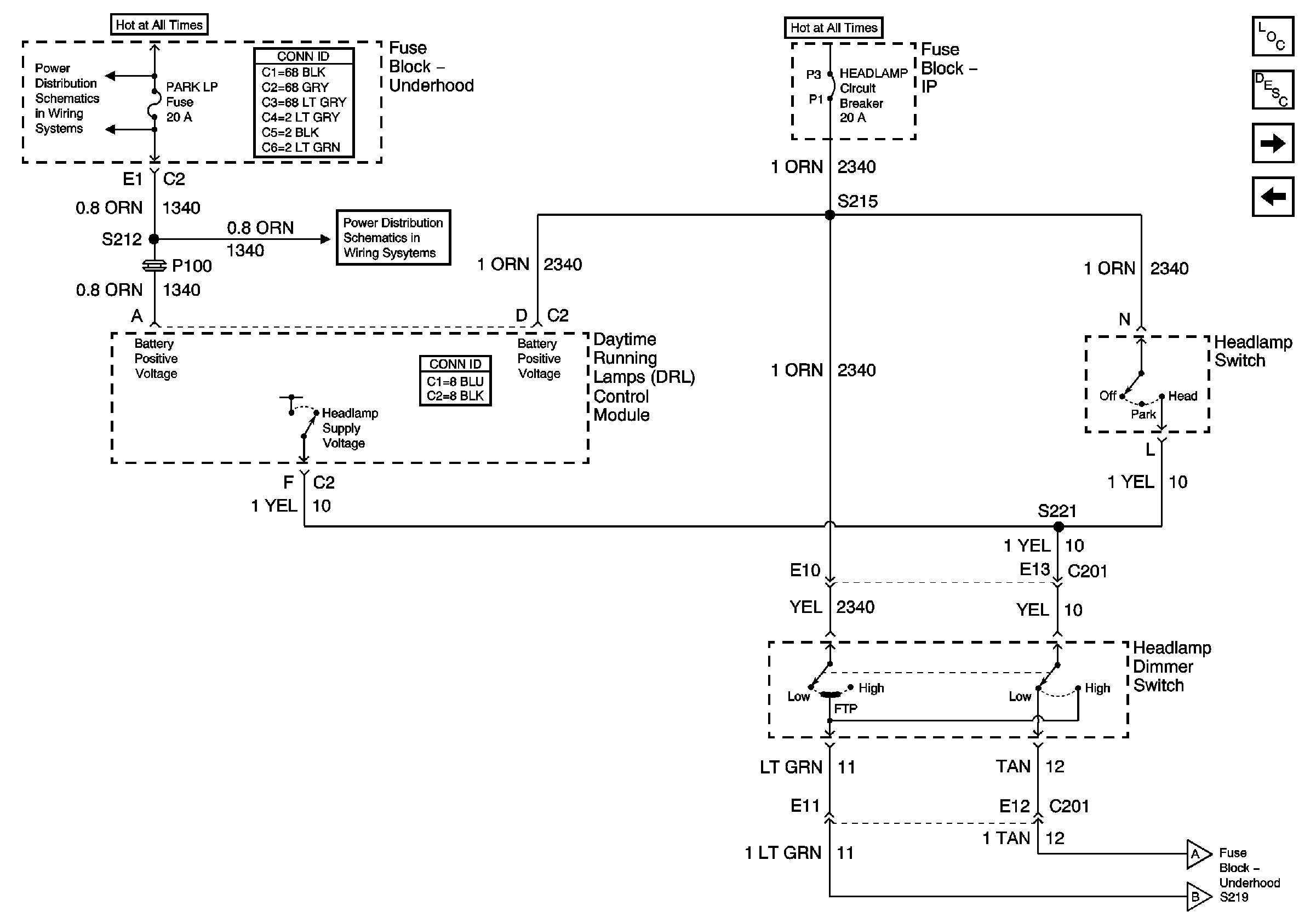
🢒 Headlamp and IP Lamp Dimmer Switch
Headlamp and IP Lamp Dimmer Switch
Headlamp and IP Lamp Dimmer Switch
EBCM, BATT MAIN 1, RADIO and PARK LP Fuses
License Lamps and Relay Center
Fog Lights
Headlamps
Headlamps
Master Electrical Component List
Exterior Lighting Systems Description and Operation
Headlamps
Park Brake Indicator Switch and DRL Abient Light Sensor