GM Service Manual Online
For 1990-2009 cars only
Makes
🢒
Chevrolet
🢒
2001
🢒
Venture Ext.
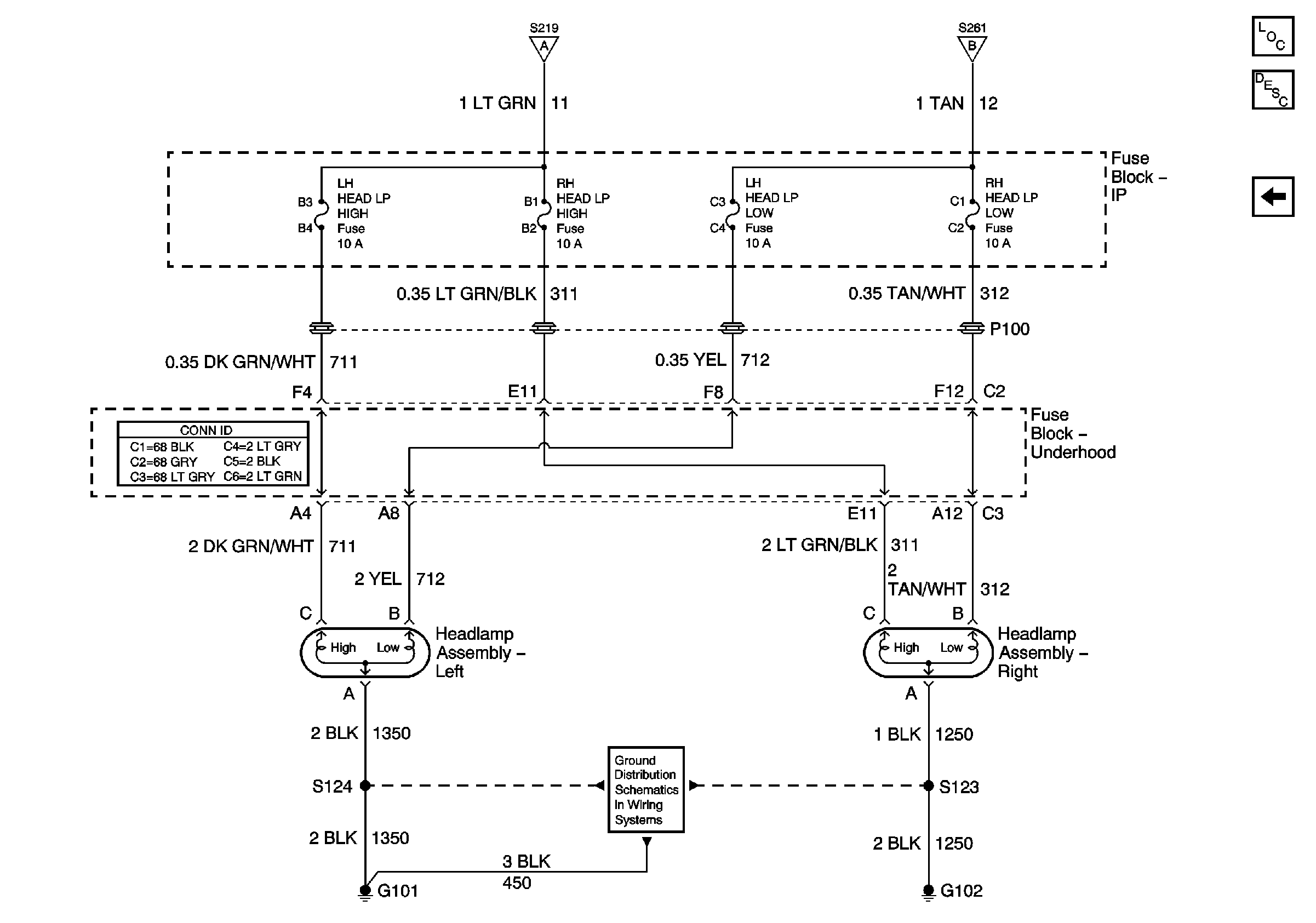
🢒 Export Headlights
Export Headlights
Export Headlights
Export DRL/Headlamp and IP Lamp Dimmer Switch
Export DRL/Headlamp and IP Lamp Dimmer Switch
G101 and G102
Master Electrical Component List
Exterior Lighting Systems Description and Operation
Export Daytime Running Lamp Control Module