GM Service Manual Online
For 1990-2009 cars only
Makes
🢒
Chevrolet
🢒
2001
🢒
Venture Ext.
🢒 Compass
Compass
Compass
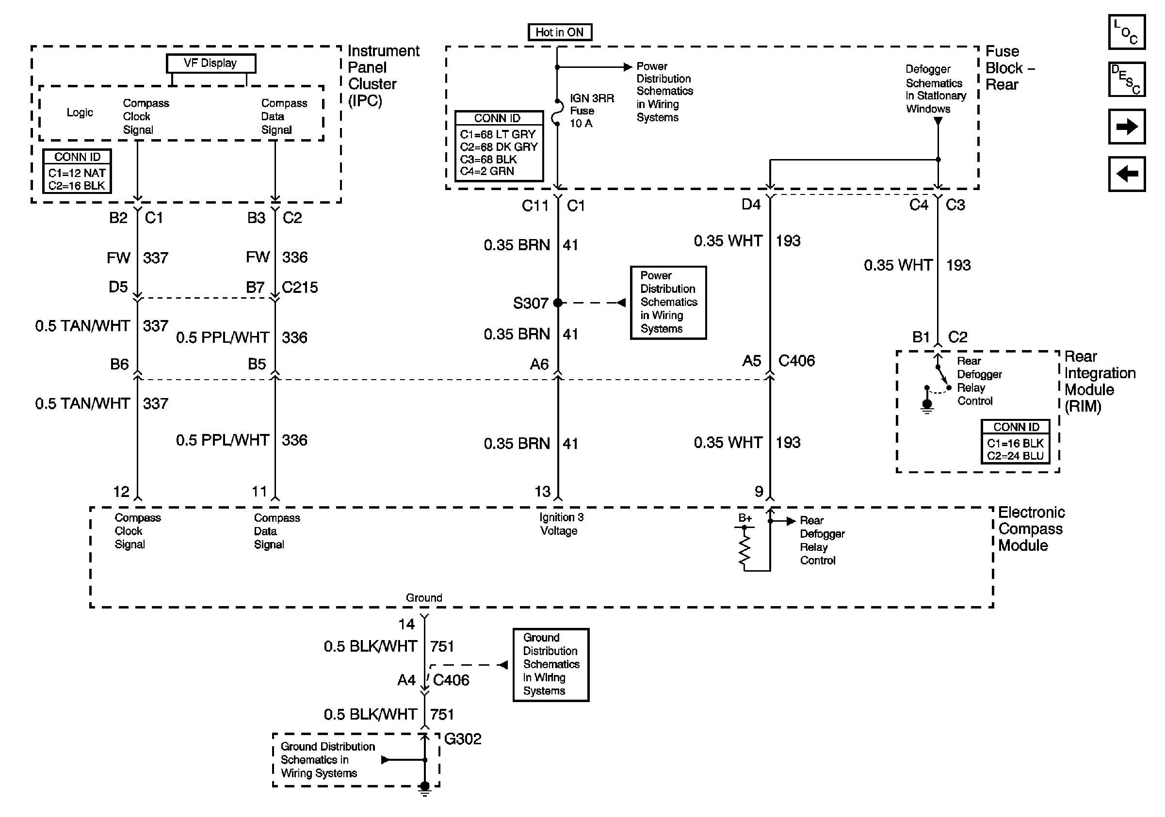
Master Electrical Component List
IGN 3 and ABS Fuses (Fuse Block - Rear)
IGN 3 and ABS Fuses (Fuse Block - Rear)
G302
DIC Switch (w/U50)
Systems Monitor - Washer Fluid, Check Oil Level, Check Gauges, Tire Pressure, Door, and Trunk Ajar Indicators