GM Service Manual Online
For 1990-2009 cars only
Makes
🢒
Chevrolet
🢒
2002
🢒
Venture Ext.
🢒 Rear Quarter Windows
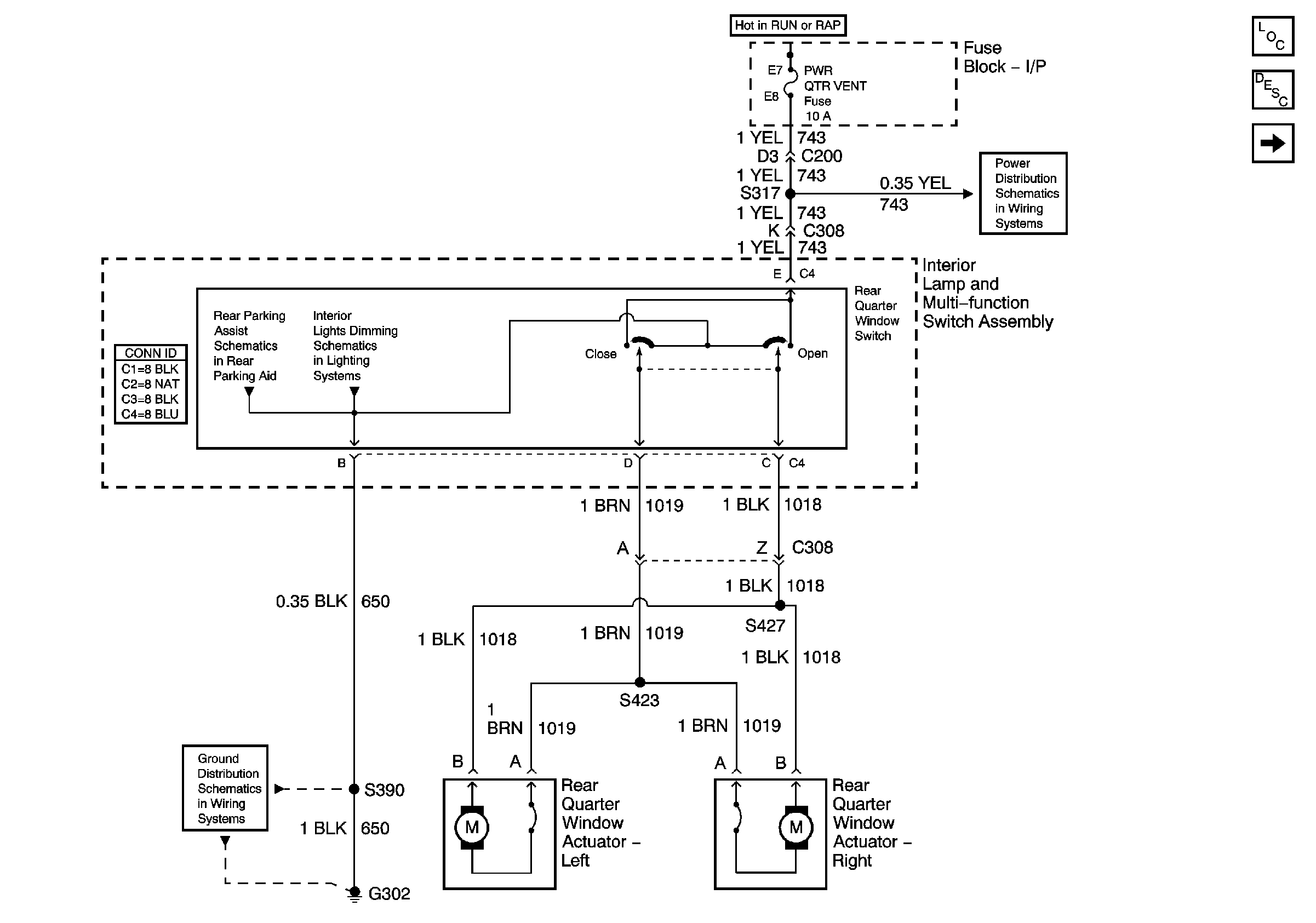
Rear Quarter Windows
Rear Quarter Windows
Rear Object Sensor Control Module, Power and Ground
Interior Lamp and Multifunction Switch, Driver Information Display and Release Actuator Switch
G302 (1 of 2)
RAP Relay Junction Block - Underhood, ECM SENSE, B/U LAMP, ALT/SENSE and AIR Fuses
Master Electrical Component List
Rear Quarter Window Description and Operation
IP REAR HATCH AJAR Telltale