GM Service Manual Online
For 1990-2009 cars only
Makes
🢒
Chevrolet
🢒
2002
🢒
Venture Ext.
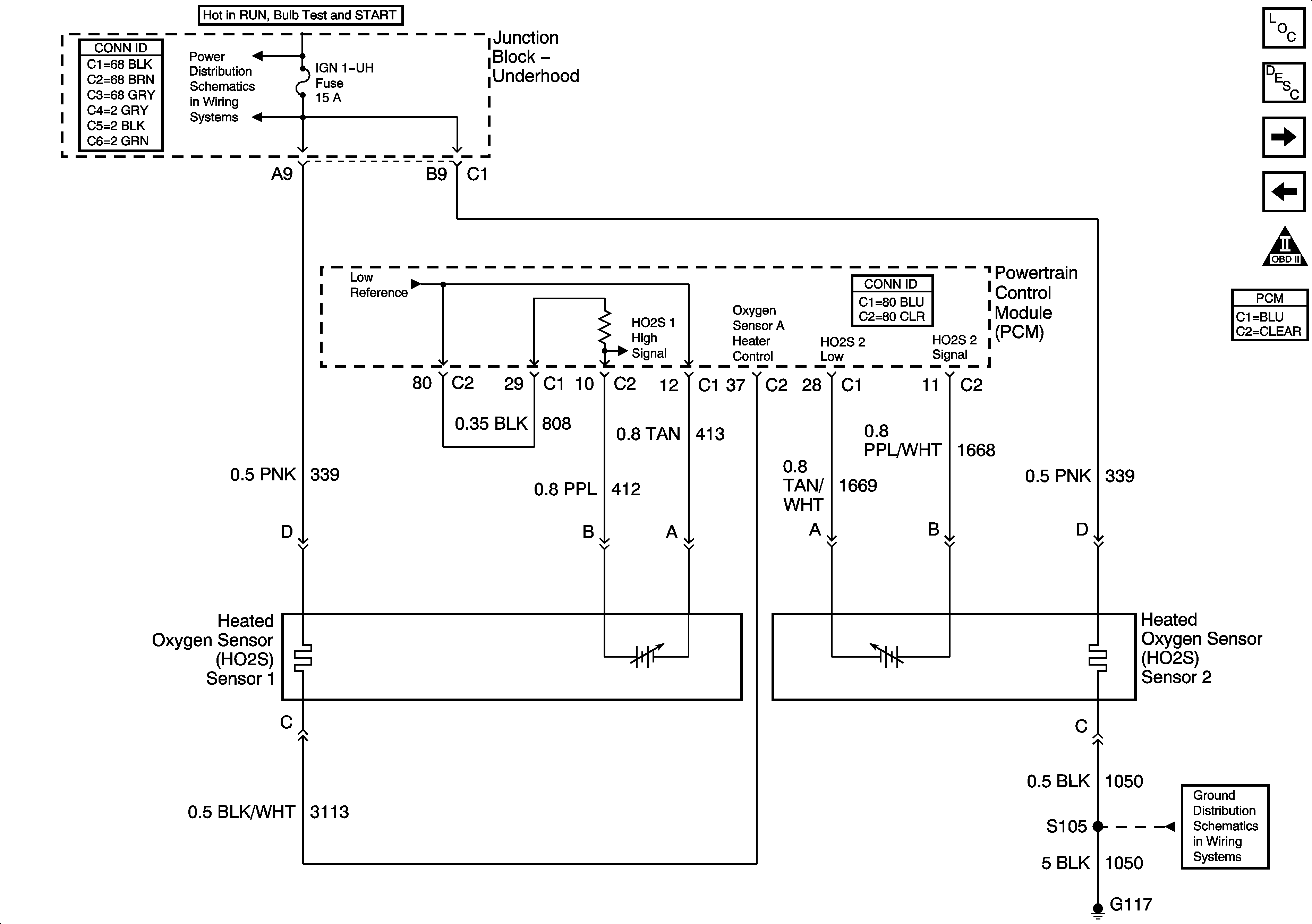
🢒 Engine Data Sensors, HO2S1, HO2S2
Engine Data Sensors, HO2S1, HO2S2
Engine Data Sensors, HO2S1, HO2S2
Master Electrical Component List
Powertrain Control Module Description
IAC Valve, EBTCM, Engine Oil Level Sensor
Engine Data Sensors, MAF, EVAP Switch, EVAP Valve, EGR
OBD II Symbol Description Notice
Powertrain Control Module Connector End Views