GM Service Manual Online
For 1990-2009 cars only
Makes
🢒
Chevrolet
🢒
2002
🢒
Venture Ext.
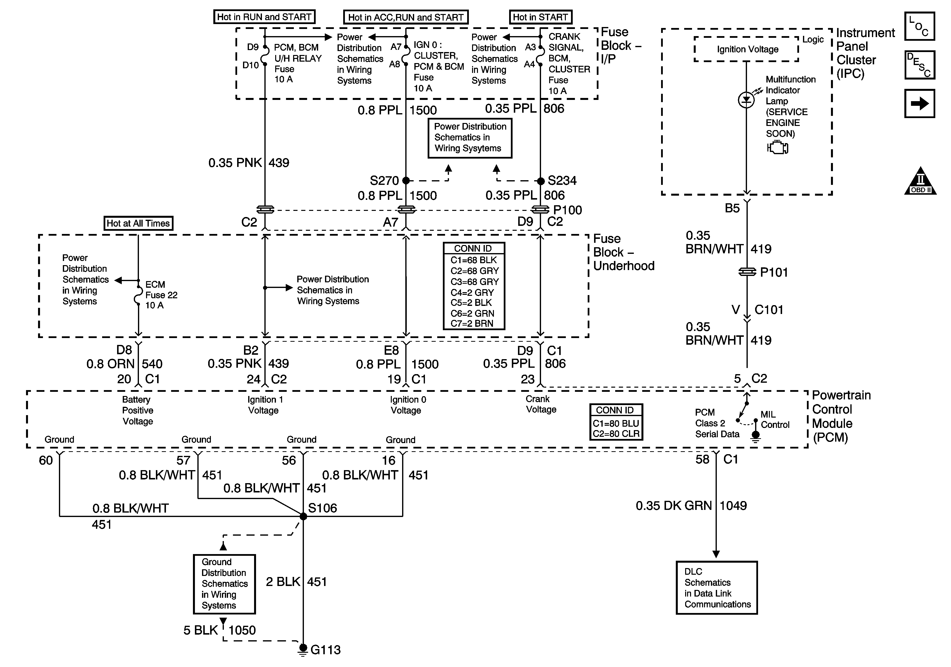
🢒 Power, Ground, DLC and MIL
Power, Ground, DLC and MIL
Power, Ground, DLC and MIL
Master Electrical Component List
Powertrain Control Module Description
TP, MAP, ECT, IAT, VSS and Supercharger Boost Control Solenoid
Engine Controls Schematic Icons
Power Bussing for Fuse Block Underhood Page 1 of 2
IGN 1
Cluster, BCM, PCM, BTSI
IGN 1
PCM, BCM, Cluster, Turn, SDM
G100,G111 and G113
DLC