GM Service Manual Online
For 1990-2009 cars only
Makes
🢒
Chevrolet
🢒
2002
🢒
Venture Ext.
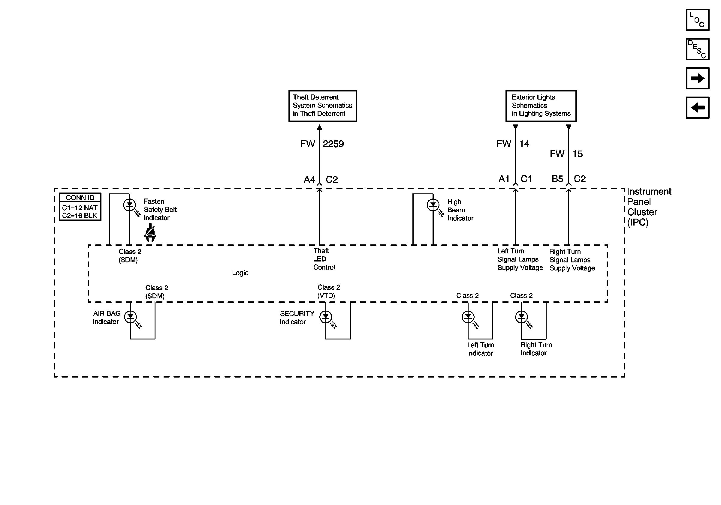
🢒 DIM, RIM, PCM, and VTD Signals - Seat Belt, High Beam, Air Bag, Theft, and Turn Signal Indicators
DIM, RIM, PCM, and VTD Signals - Seat Belt, High Beam, Air Bag, Theft, and Turn Signal Indicators
DIM, RIM, PCM, and VTD Signals -- Seat Belt, High Beam, Air Bag, Theft, and Turn Signal Indicators
Master Electrical Component List
Indicators - VTD and CTD
Turn Signal Lamps and Indicators
Systems Monitor - Washer Fluid, Check Oil Level, Check Gauges, Tire Pressure, Door, and Trunk Ajar Indicators
DIM, PCM, and EBCM Signals - Traction, ABS, Brake, Battery, and MIL Indicators