GM Service Manual Online
For 1990-2009 cars only
Makes
🢒
Chevrolet
🢒
2002
🢒
Venture Ext.
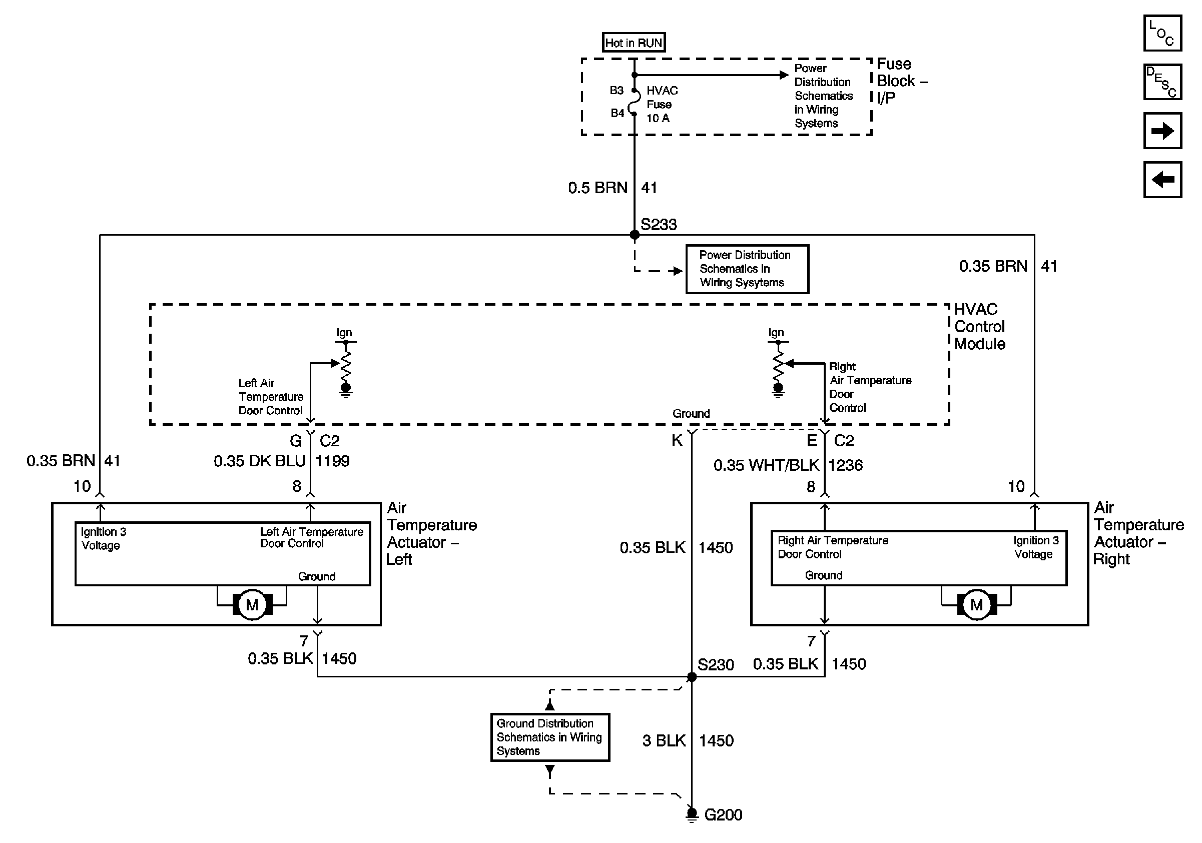
🢒 Temperature Actuators
Temperature Actuators
Temperature Actuators
Master Electrical Component List
Air Temperature Description and Operation
Air Delivery System
Compressor Controls
Blower, Cruise, HVAC
Blower, Cruise, HVAC
G200, Page 1 of 2