GM Service Manual Online
For 1990-2009 cars only
Makes
🢒
Chevrolet
🢒
2004
🢒
Venture Ext.
🢒 Transmission Controls
Transmission Controls
Transmission Controls
Master Electrical Component List
Powertrain Control Module Description
Controlled/Monitored Subsystem References
OBD II Symbol Description Notice
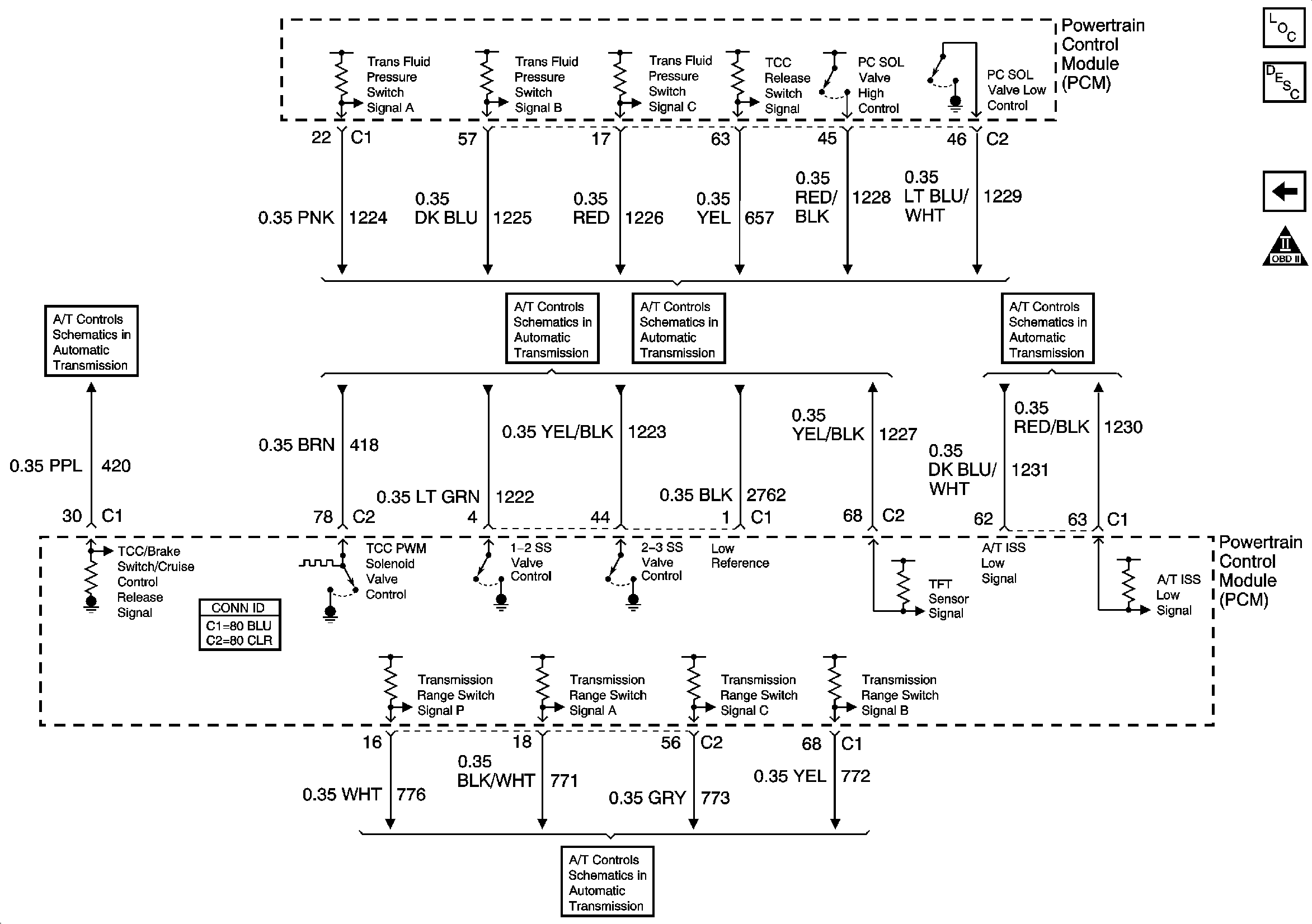
Automatic Transmission TCC Switch
Automatic Transmission TCC Switch
Automatic Transmission
Automatic Transmission
PCM Power, Ground, VSS and Park/Neutral Position (PNP) Switch