GM Service Manual Online
For 1990-2009 cars only
Makes
🢒
Chevrolet
🢒
2007
🢒
Vivant
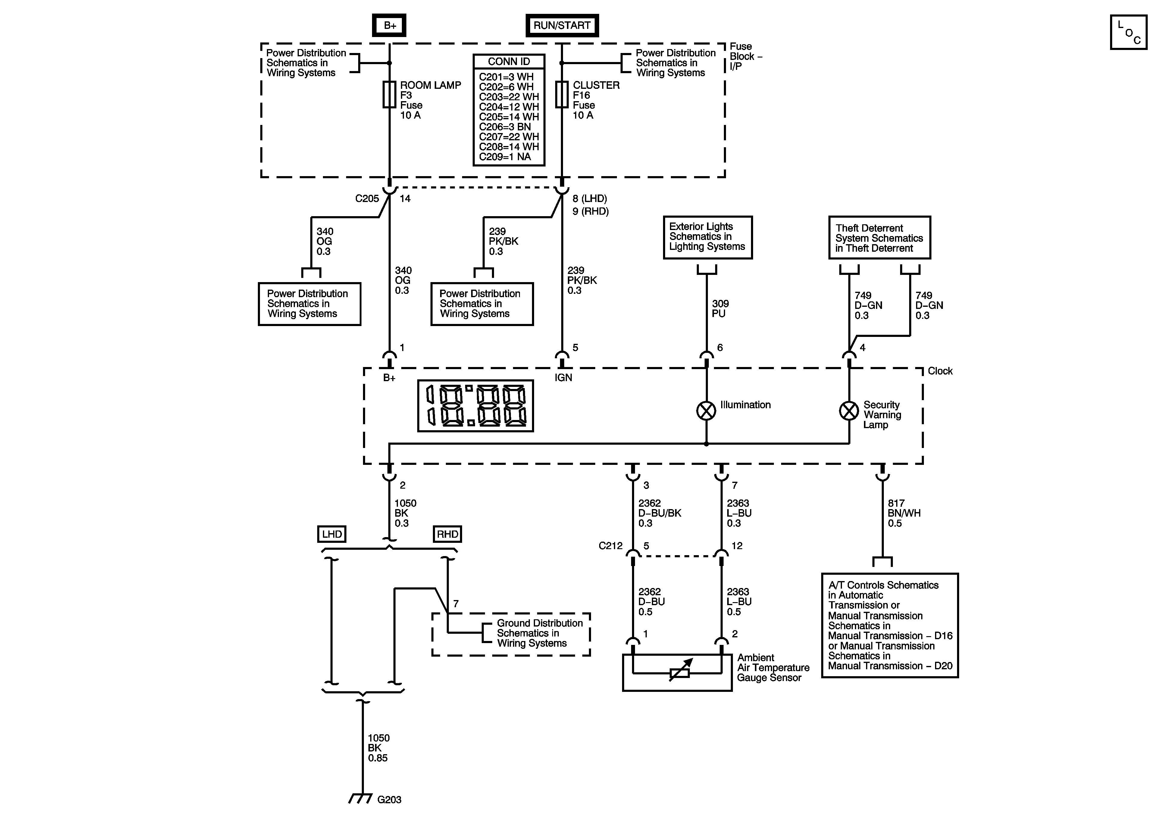
🢒 Clock
Clock
Clock
Master Electrical Component List
Underhood Fuse Block - Battery Feeds
IGNITION 1 and IGNITION 2 Fuses (ITMS-6F)
DOOR LOCK, HAZARD FLASHER, TCM and AUDIO Fuses
CLUSTER AIR BAG, TURN SIGNAL, and CRUISE Fuses (RHD)
Park Lamps and and License Plate Lamps (LHD)
Theft Deterrent (w/o RKE)
Power, Ground, Hold Switch and Data Link Connector (DLC)
Vehicle Speed Sensor (MR 140)
Vehicle Speed Sensor