GM Service Manual Online
For 1990-2009 cars only
Makes
🢒
Generic
🢒
1999
🢒
Unit Repair
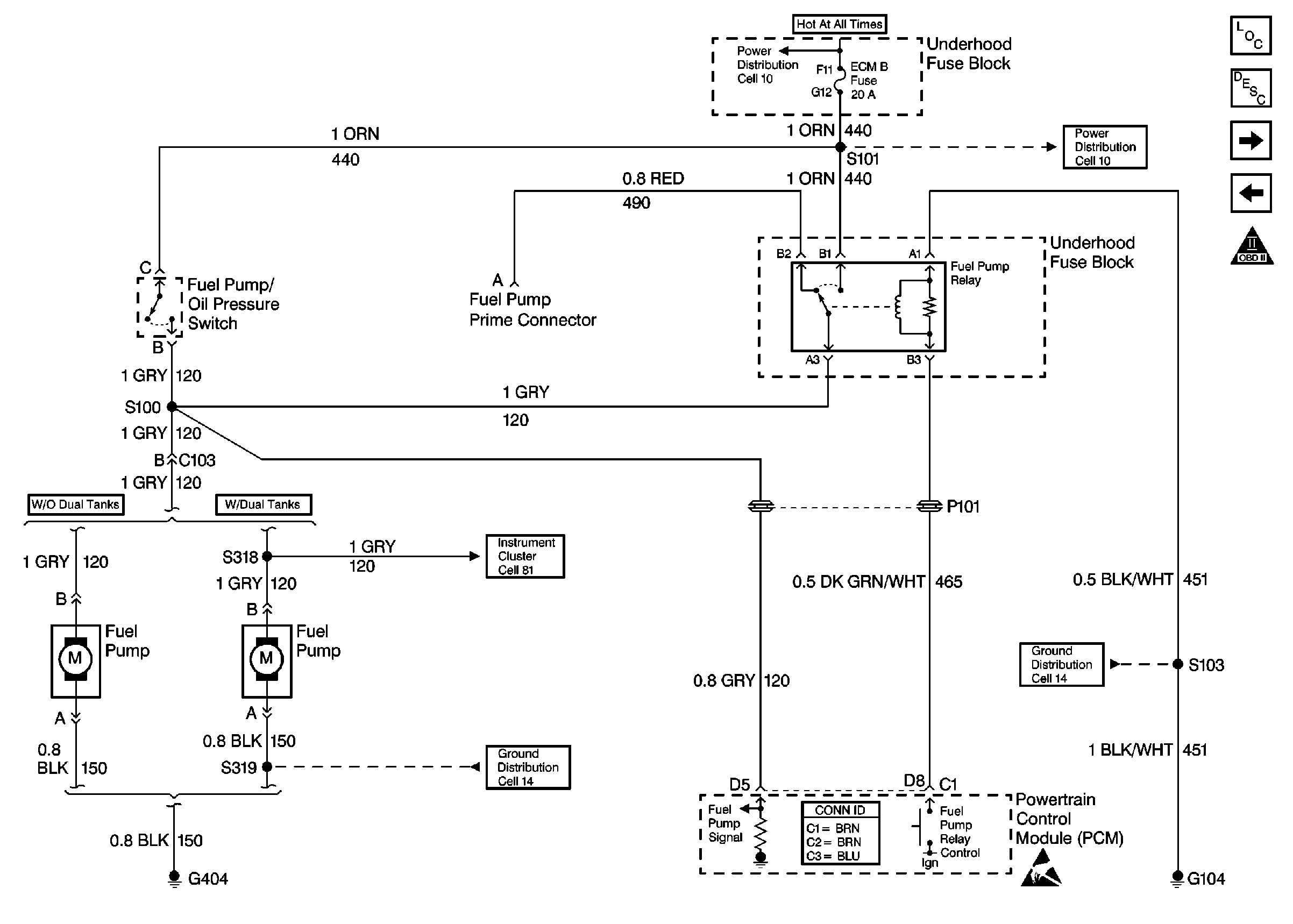
🢒 Fuel Controls
Fuel Controls
Fuel Controls
Cell 10: Battery, and Underhood Fuse Block
Cell 10: ECM-B, HORN and A/C COMP Fuses
Fuel Gauge Sender (Dual Tank, Gas)
Cell 14: G201, G300, G404
Cell 14: G103 and G104
Powertrain Control Module Connector End Views
Handling ESD Sensitive Parts Notice
OBD II Symbol Description Notice
Fuel Controls
Glow Plug Controls