GM Service Manual Online
For 1990-2009 cars only

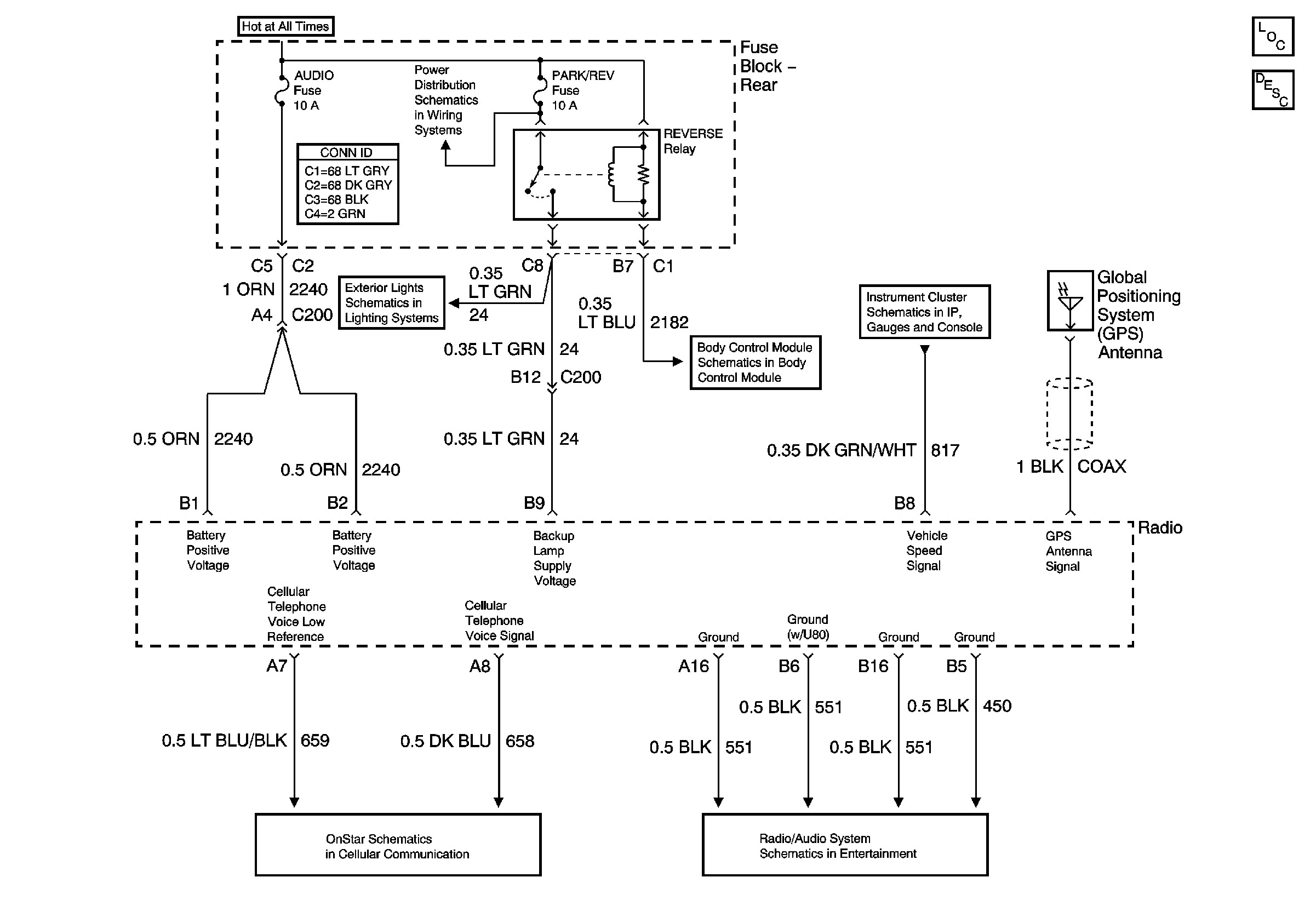
Navigation System


Object Number: 769086  Size: FS
RIM Input/Output (2 of 2)
Master Electrical Component List
Gages
Backup Lamps
Keypad Microphone Signals
Power and Grounds