GM Service Manual Online
For 1990-2009 cars only
Makes
🢒
Oldsmobile
🢒
2002
🢒
Aurora
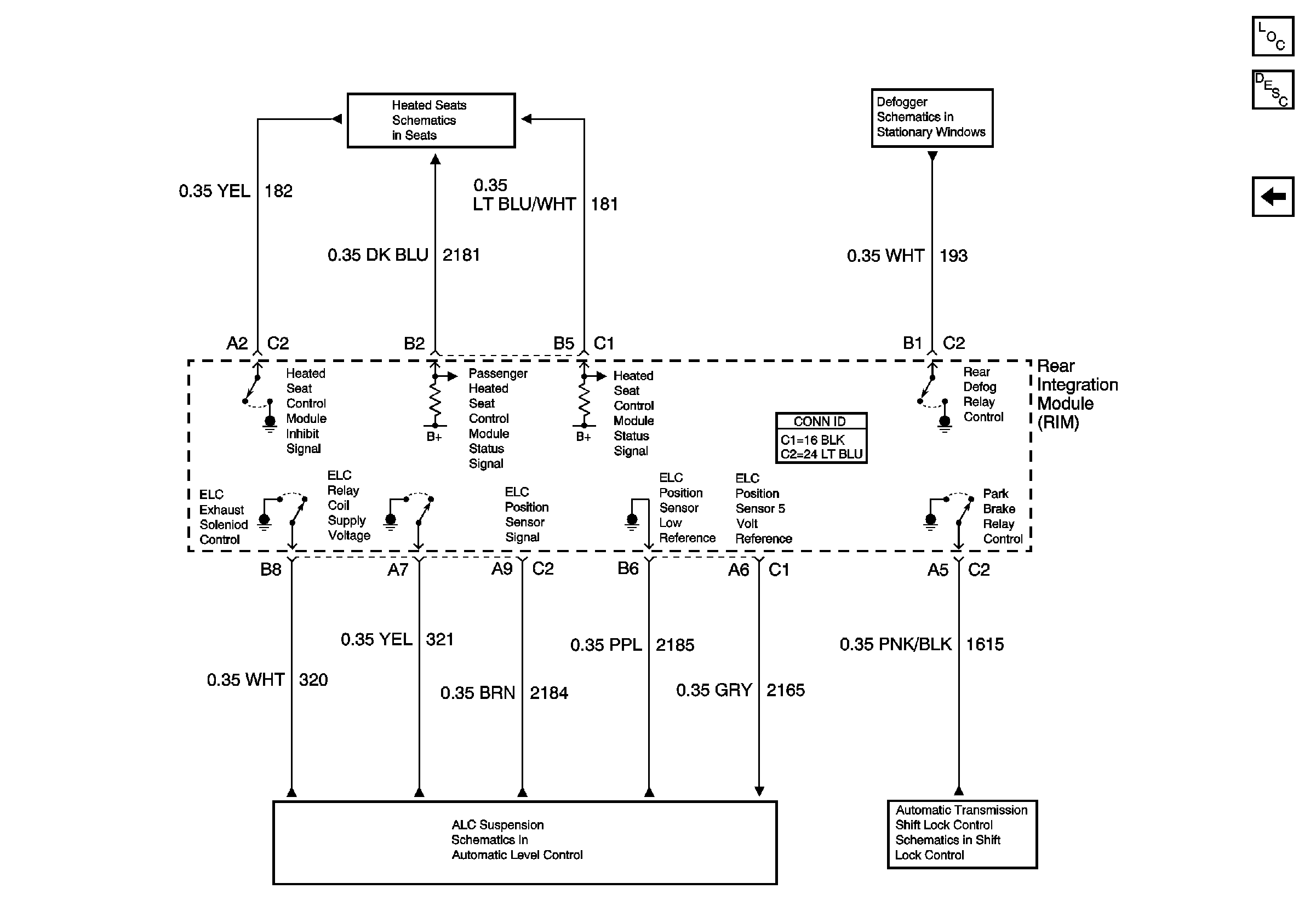
🢒 RIM Input/Output (2 of 2)
RIM Input/Output (2 of 2)
RIM Input/Output (2 of 2)
Master Electrical Component List
Body Control System Description and Operation
Rim Input/Output (1 of 2)
Front Heated Seats (Partial)
Defogger
Automatic Level Control Suspension Schematics
Power and Grounds