GM Service Manual Online
For 1990-2009 cars only
Makes
🢒
Oldsmobile
🢒
1999
🢒
Eighty Eight
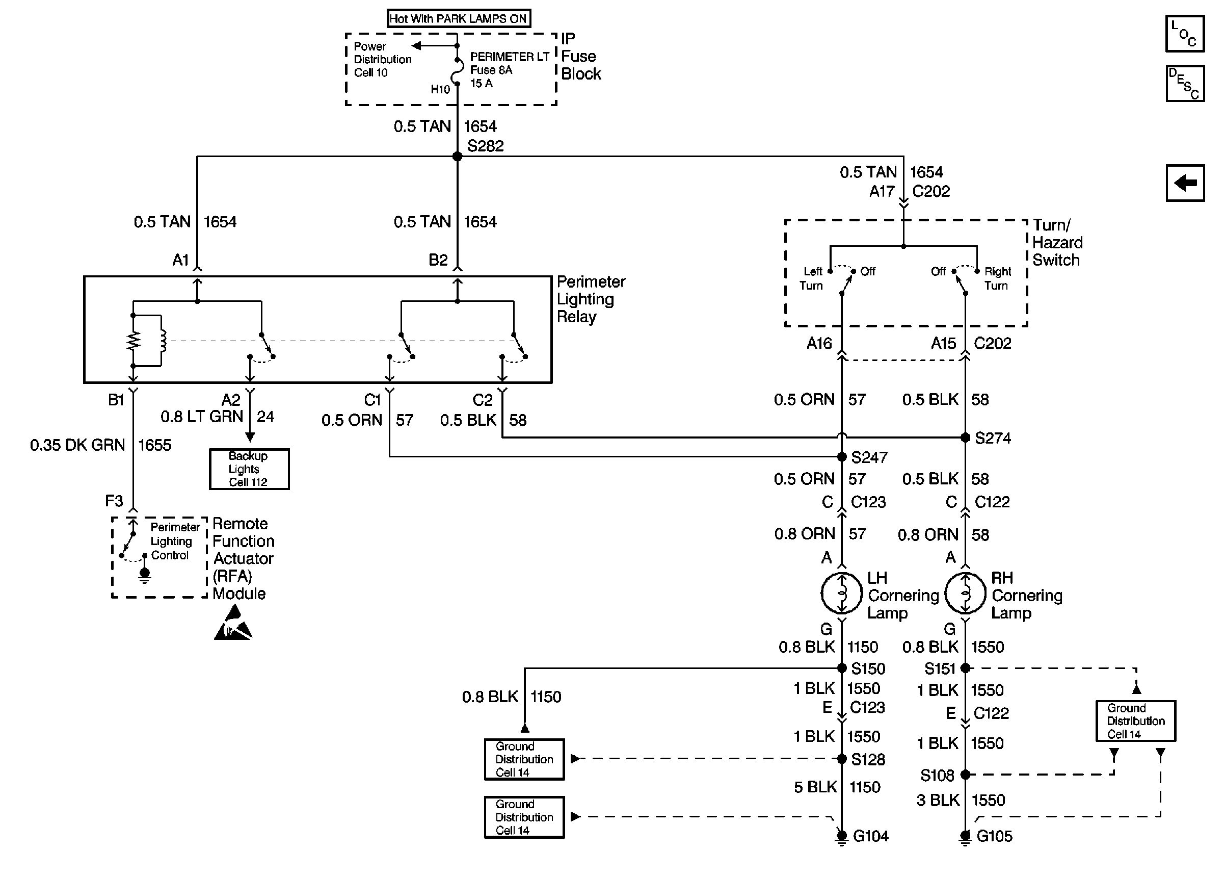
🢒 Cell 110: Cornering Lamps w/ T87
Cell 110: Cornering Lamps w/ T87
Cell 110: Cornering Lamps w/ T87
Lighting Systems Components
Exterior Lights Circuit Description
Cell 110: Tail/Stop/Turn, Tail, and Rear Side Marker Lamps
Ground Distribution Schematics
Ground Distribution Schematics
Ground Distribution Schematics
Power Distribution Schematics
Cell 112: Perimeter Lighting Relay, RFA Module
Handling ESD Sensitive Parts Notice