GM Service Manual Online
For 1990-2009 cars only
Makes
🢒
Oldsmobile
🢒
2000
🢒
Intrigue
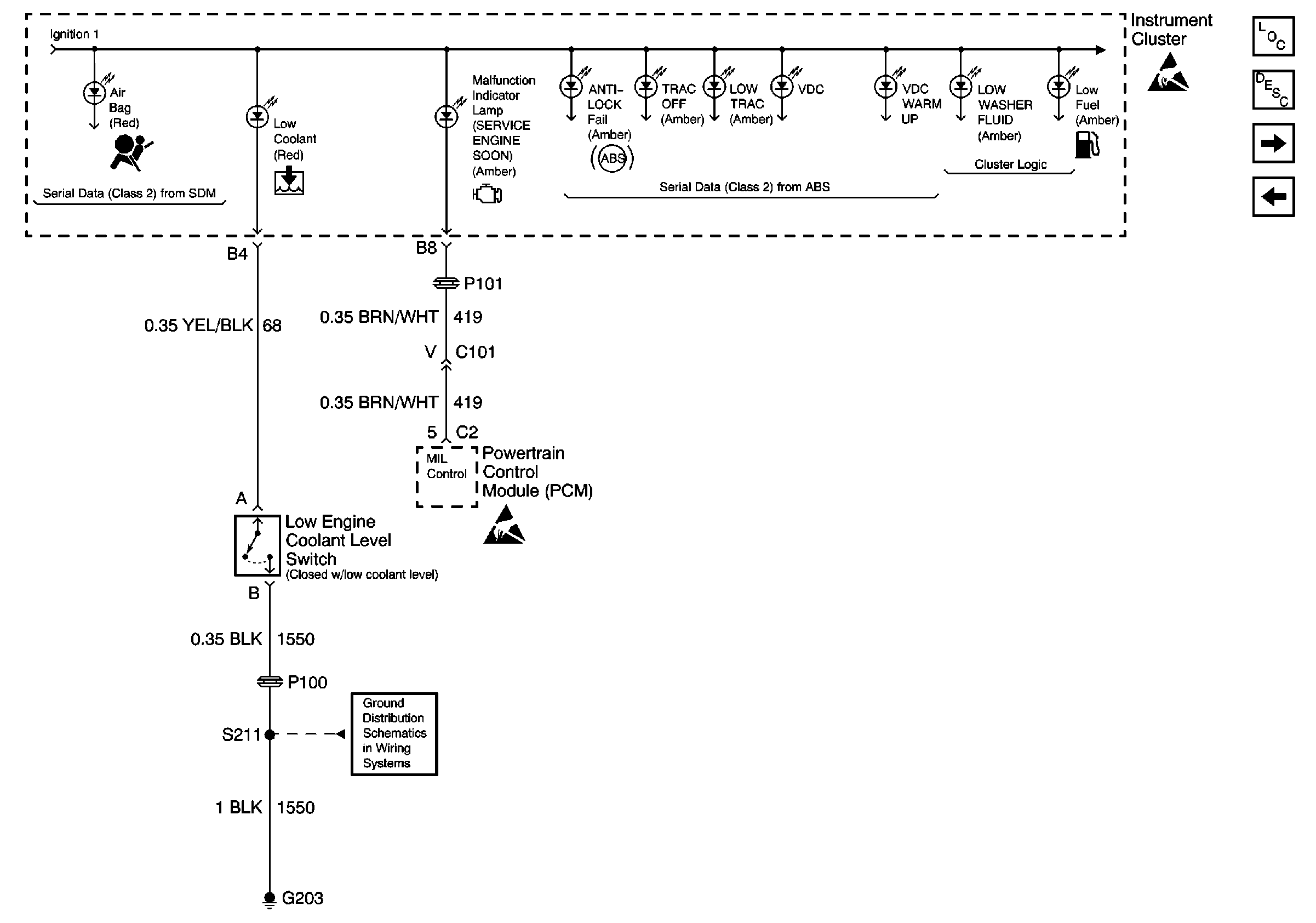
🢒 Low Engine Coolant Level Switch Input and MIL Input
Low Engine Coolant Level Switch Input and MIL Input
Low Engine Coolant Level Switch Input and MIL Input
Instrument Cluster Components
Instrument Cluster Circuit Description
Brake Fluid Level Indicator Switch Input
Interior Lights Dimming Inputs, Windshield Washer Solvent Level SwItch Input, and Serial Data