GM Service Manual Online
For 1990-2009 cars only
Makes
🢒
Oldsmobile
🢒
2000
🢒
Intrigue
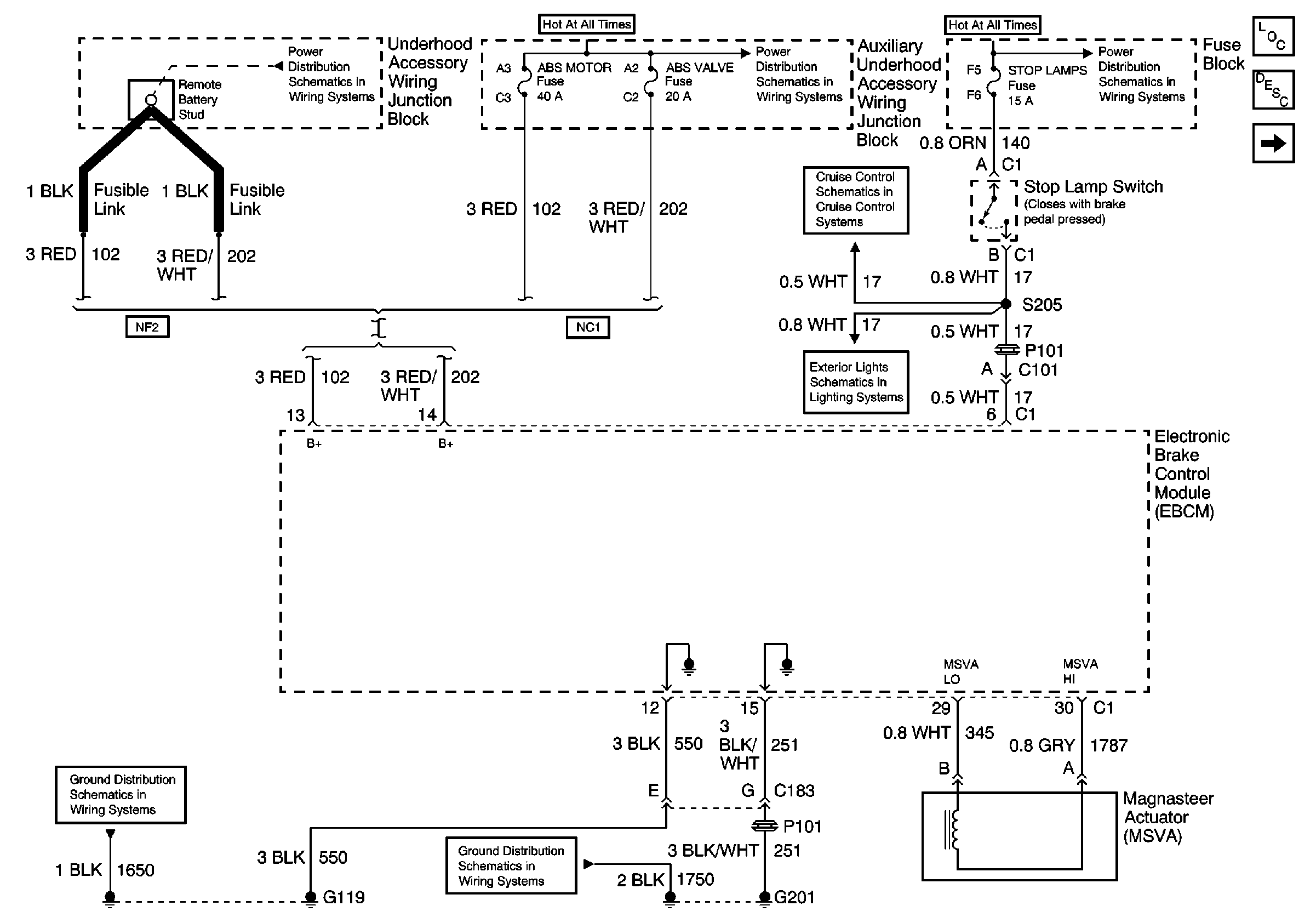
🢒 Power/Ground Distribution, Stop Lamp Switch Input, and Variable EfforT Steering Control
Power/Ground Distribution, Stop Lamp Switch Input, and Variable EfforT Steering Control
Power/Ground Distribution, Stop Lamp Switch Input, and Variable Effort Steering Control
Battery, MaxiFuses, Fusible Links and Crank Relay
Battery, MaxiFuses, Fusible Links and Crank Relay
Power, Ground, Stoplamp Switch, Cruise Control Switch and Cruise Release Switch
Power, Ground, Stoplamp Switch, Cruise Control Switch and Cruise Release Switch
High Blower, Hazard, Stop Lamps, Door Locks and Power Mirrors Fuses
ABS Components
ABS Description
Instrument Cluster Indicators, Traction Control System, and Serial Data
Ground G119
Ground G201