GM Service Manual Online
For 1990-2009 cars only
Makes
🢒
Oldsmobile
🢒
2001
🢒
Intrigue
🢒
Transmission/Transaxle
🢒
Automatic Transaxle - 4T65-E
🢒 Automatic Transmission Controls Schematics
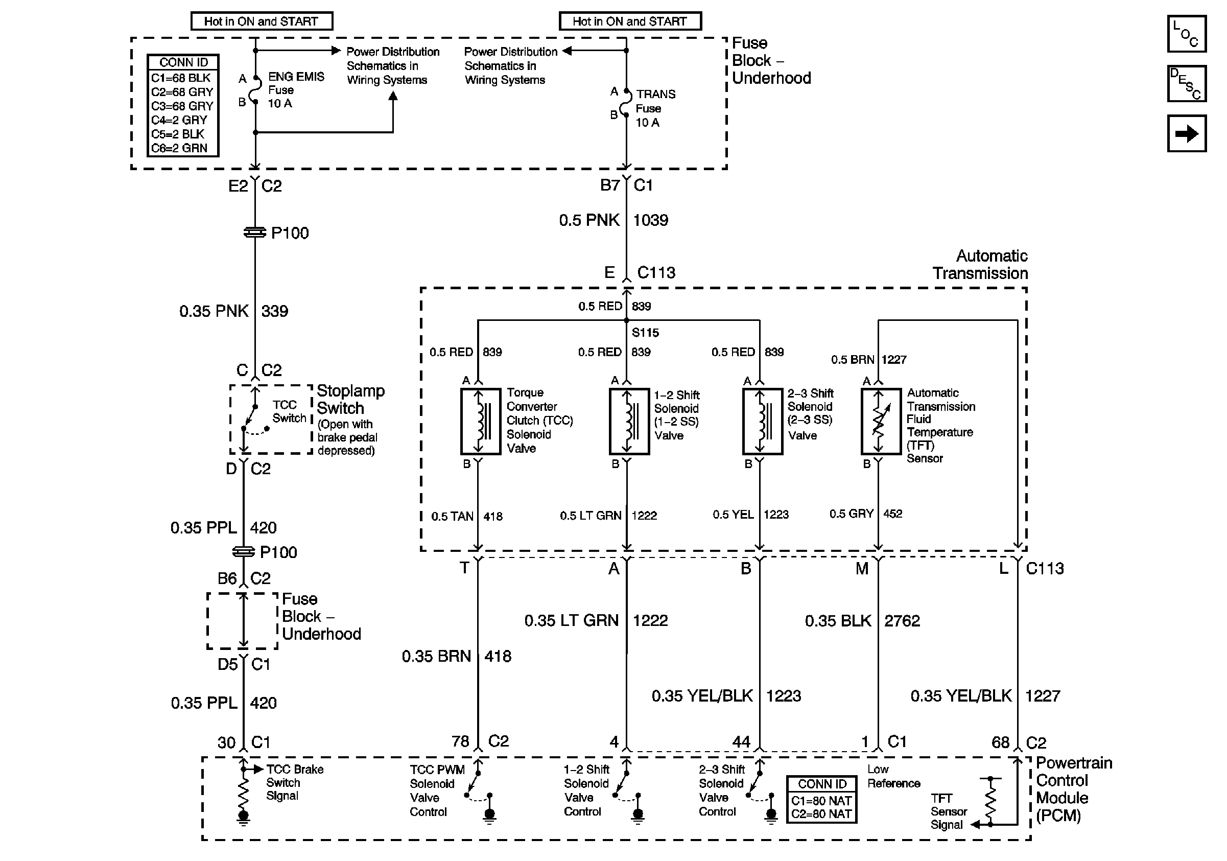
Figure
1:
Inputs
Master Electrical Component List original
Electronic Component Description
PNP Switch Outputs
COOL Fan 1, COOL Fan 2, Cool Fan 3, A/C CLU, IGN Main, and AIR Pump Relays
TRANS, ABS, and OXY SEN Fuses
COOL Fan 1, COOL Fan 2, Cool Fan 3, A/C CLU, IGN Main, and AIR Pump Relays
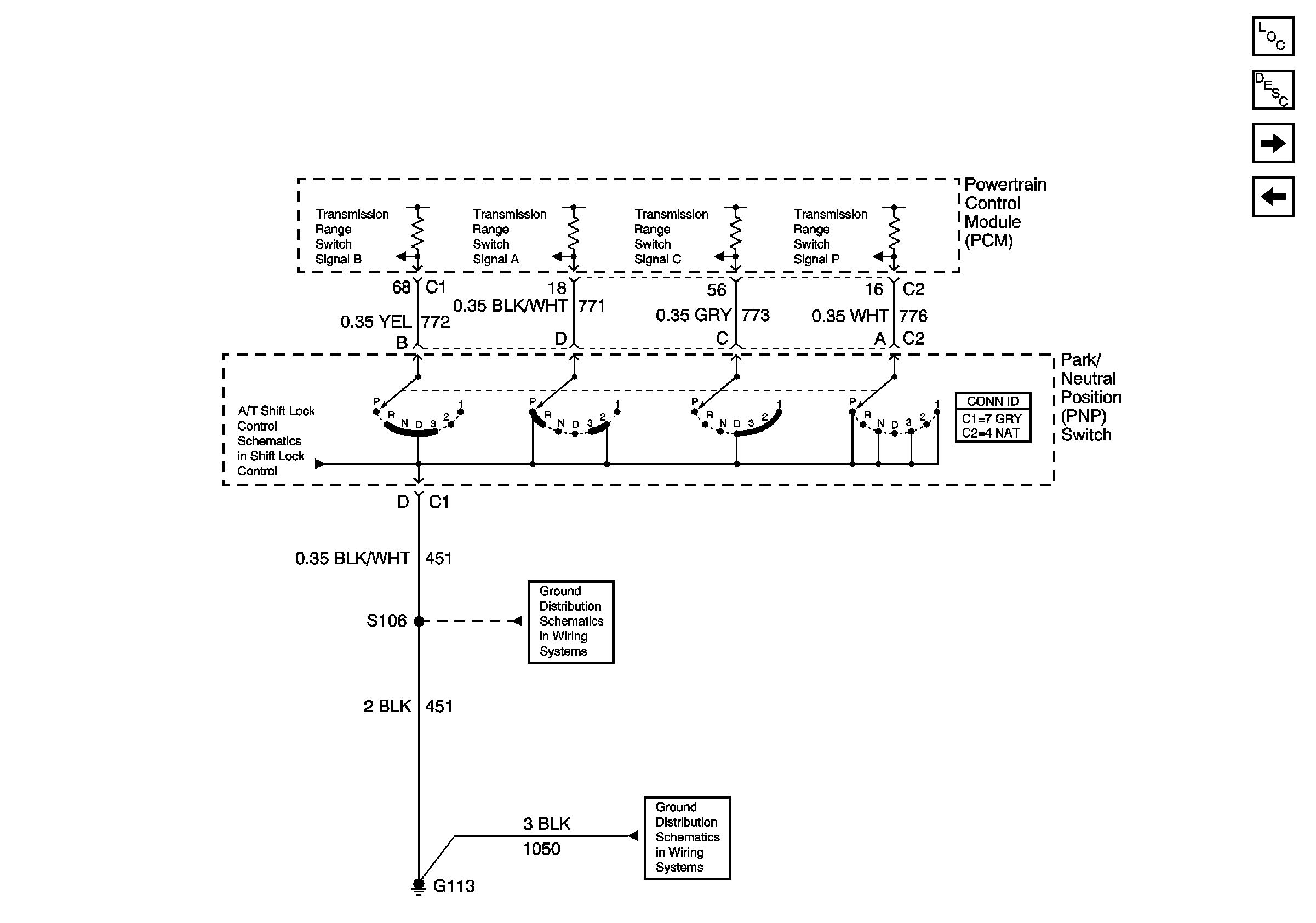
Figure
2:
PNP Switch Outputs
Master Electrical Component List original
Electronic Component Description
Outputs
Inputs
Battery, MaxiFuses, Fusible Link, CRANK, FOG, A/C CLU, R/CMPT, R/PMP, HORN, and IGN Main Relays
BTSI, Turn Signals/CORN LPS, Air Bag, Cluster, PCM/BCM/Crank/IGN Fuses
BTSI, Turn Signals/CORN LPS, Air Bag, Cluster, PCM/BCM/Crank/IGN Fuses
Ground G113
Grounds G113, G117, G119
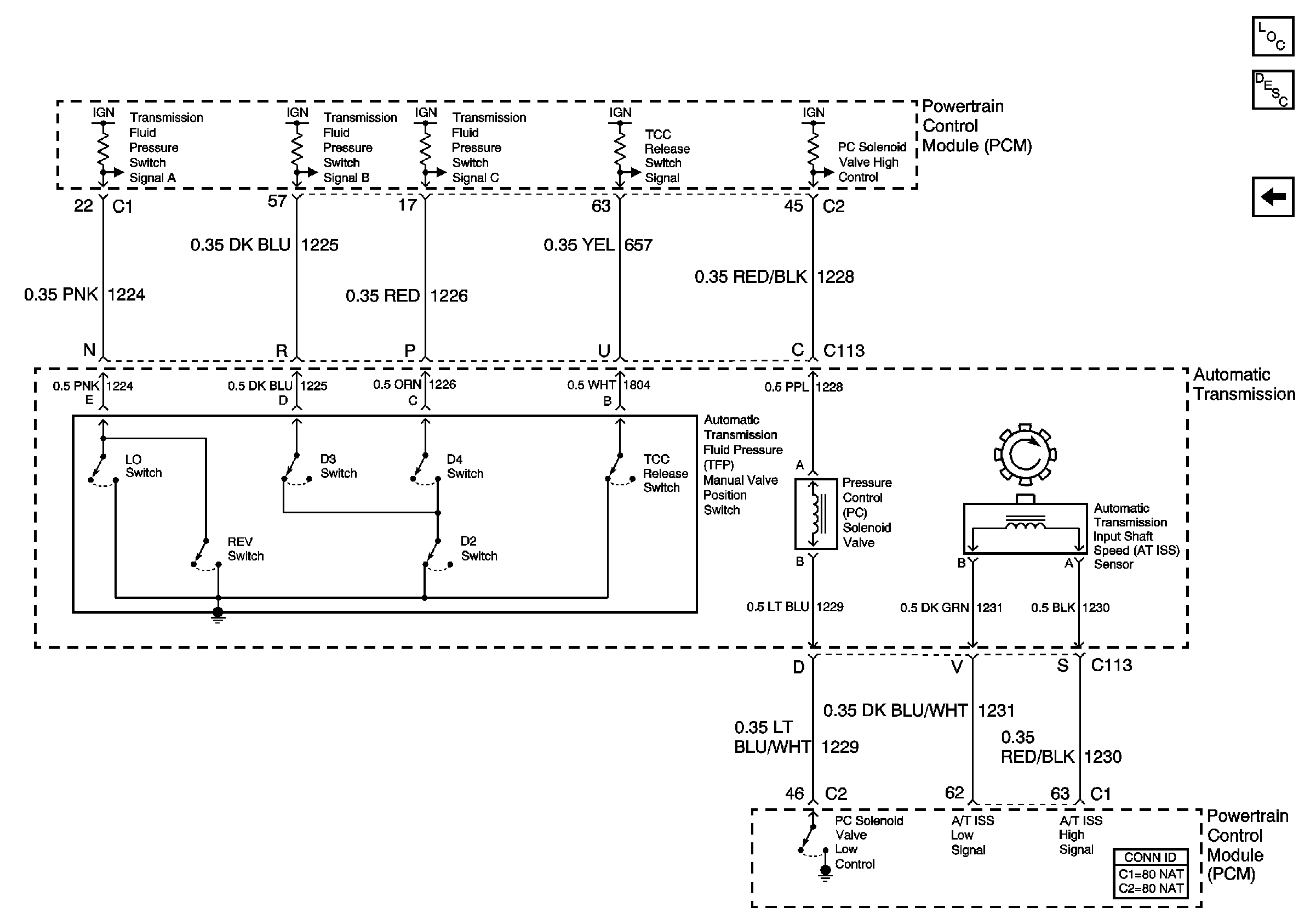
Figure
3:
Outputs
Master Electrical Component List original
Electronic Component Description
PNP Switch Outputs