GM Service Manual Online
For 1990-2009 cars only
Makes
🢒
Oldsmobile
🢒
2001
🢒
Intrigue
🢒
Body and Accessories
🢒
Doors
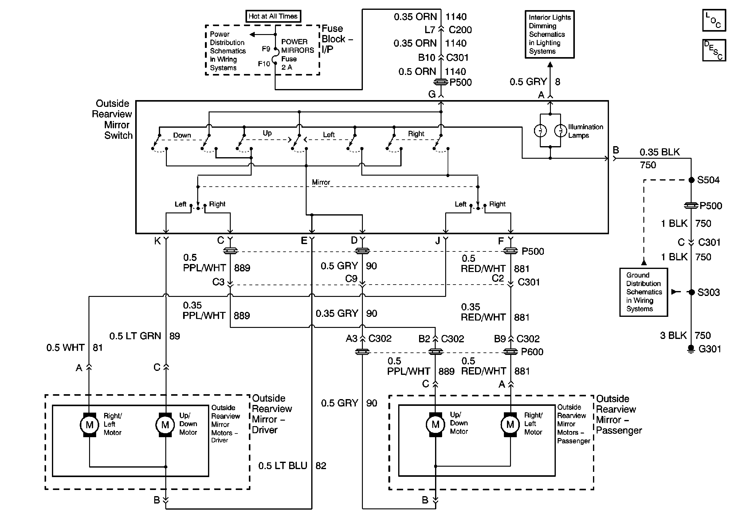
🢒 Outside Rearview Mirror Schematics
Power, Ground and Switch
Master Electrical Component List original
Outside Mirror Description and Operation
Steering Wheel Controls, Window and Door Lock Switches
HIGH BLOWER, HAZARD, STOP LAMPS, DOOR LOCKS, POWER MIRRORS Fuses
Ground G301 (1 of 3)