GM Service Manual Online
For 1990-2009 cars only
Makes
🢒
Oldsmobile
🢒
2001
🢒
Intrigue
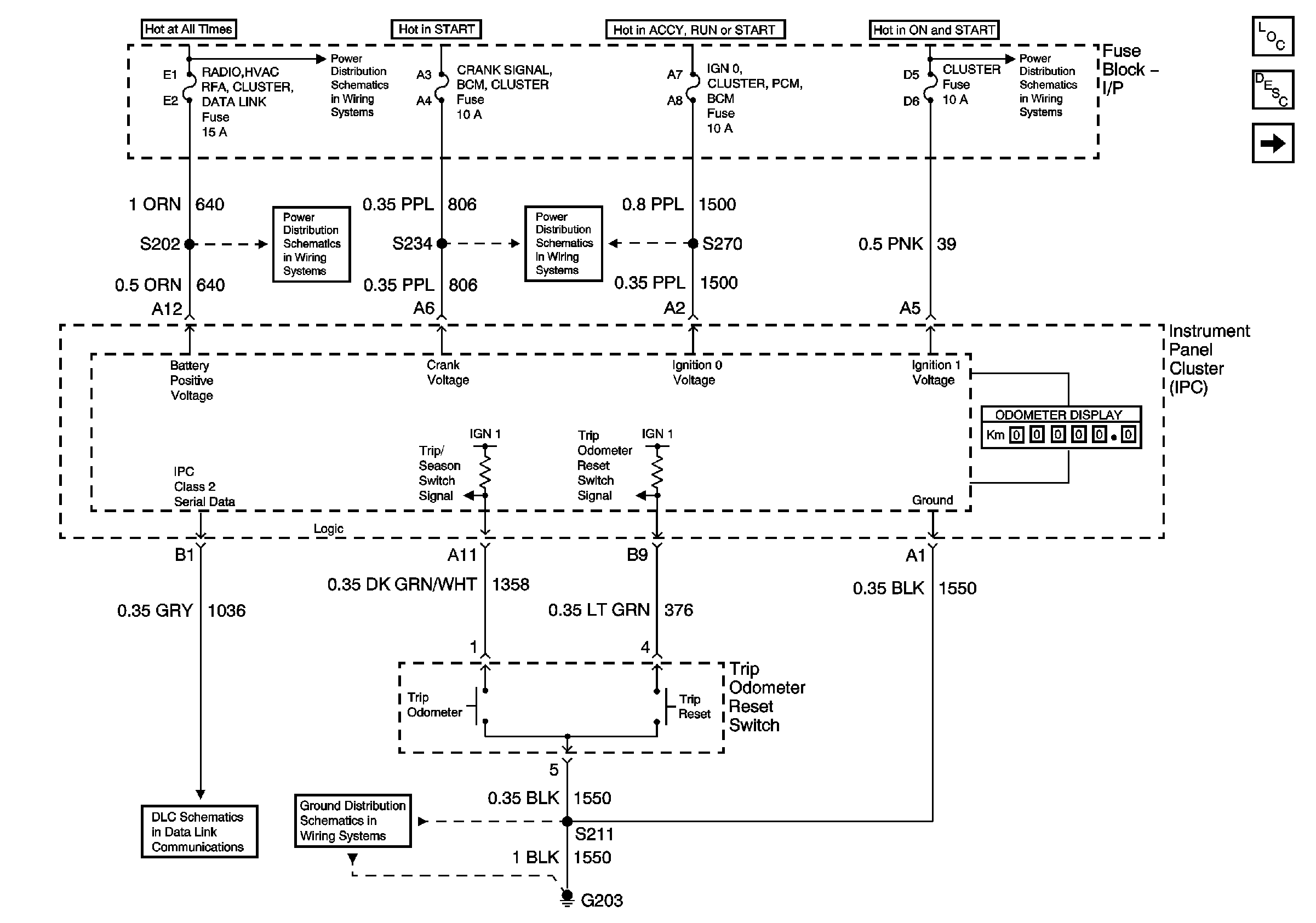
🢒 Power, Grounds, DLC and Odometer
Power, Grounds, DLC and Odometer
Power, Grounds, DLC and Odometer
Master Electrical Component List original
Instrument Cluster Description and Operation
Gages, Fuel Level Sensor and DLC
BTSI, Turn Signals/CORN LPS, Air Bag, Cluster, PCM/BCM/Crank/IGN Fuses
INADV POWER BUS/RAP, BCM, RADIO/HVAC/RFA/CLUSTER/DATA LINK, CIGAR LTR/AUXPOWER/POWER DROP Fuses and RAP Relay
INADV POWER BUS/RAP, BCM, RADIO/HVAC/RFA/CLUSTER/DATA LINK, CIGAR LTR/AUXPOWER/POWER DROP Fuses and RAP Relay
IGN 2, IGN 0/Cluster/PCM/BCM, Crank/Signal/BCM/Cluster Fuses
01 W-Car Olds: Data LInk Communications (Data LInk Connector)
Ground G203