GM Service Manual Online
For 1990-2009 cars only
Makes
🢒
Oldsmobile
🢒
2002
🢒
Intrigue
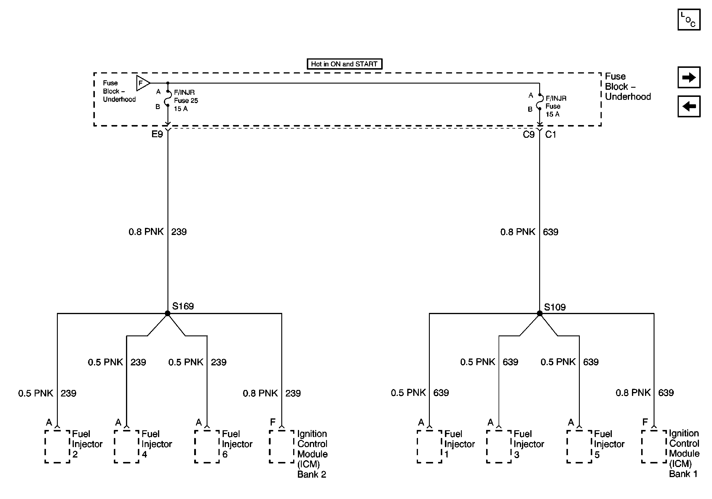
🢒 F/INJR Fuses
F/INJR Fuses
F/INJR Fuses
Master Electrical Component List
POWER DROP, and WIPER Fuses, PWR WINDOWS/PWR SUNROOF Circuit Breakers
TRANS, ABS, and OXY SEN Fuses
TRANS, ABS, and OXY SEN Fuses