GM Service Manual Online
For 1990-2009 cars only

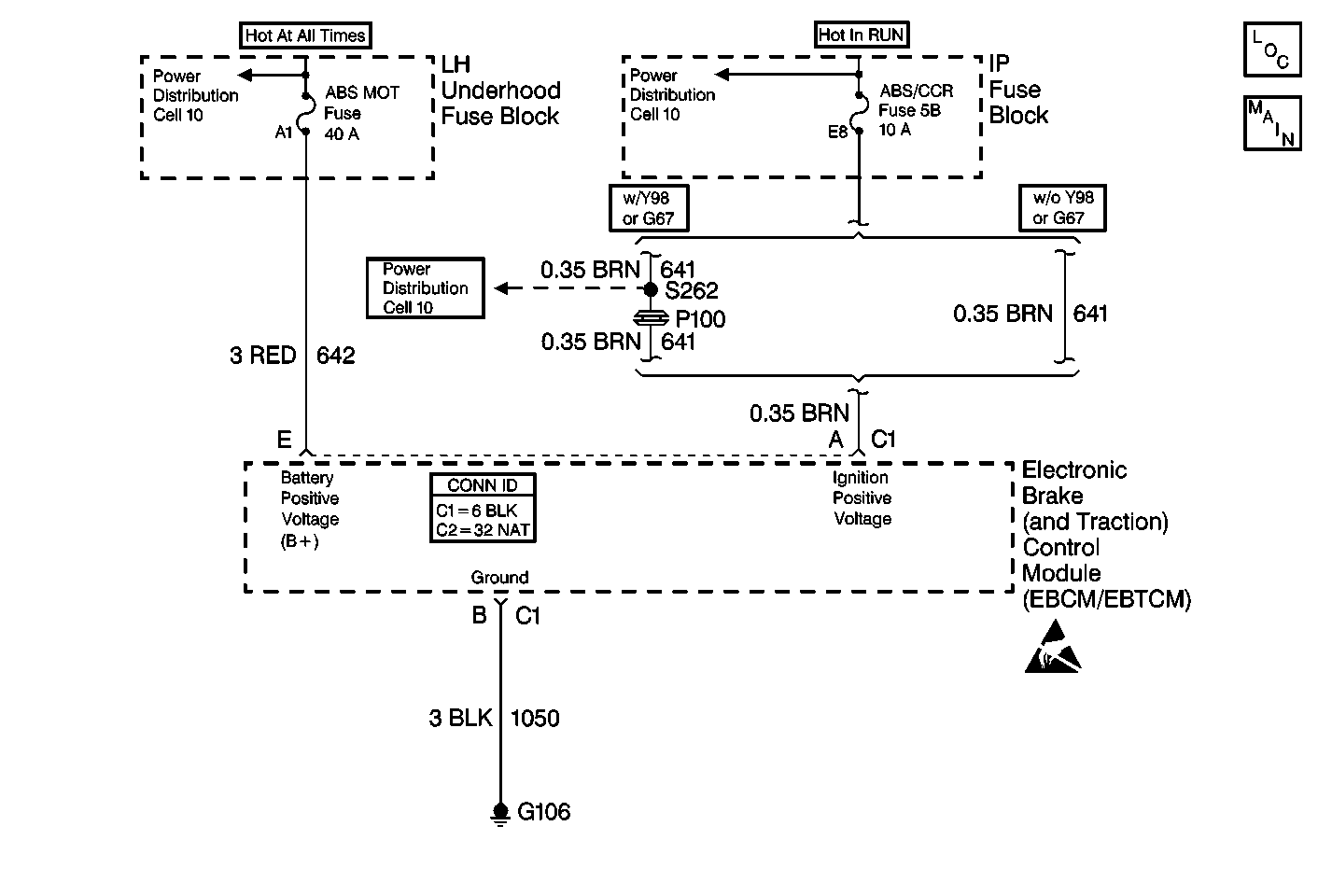
Object Number: 375179  Size: MF
ABS Components
Cell 44: PWR, GND, Pump Motor, Valve Solenoids, and Stoplamp/BTSI Switch
Cell 10: Battery and Underhood Fuse Blocks
Cell 10: ABS/CCR and CLG FAN/TCC Fuses
Handling ESD Sensitive Parts Notice
Cell 10: MISC LGT, COOL FNS, C/LTR/RDO/CLSTR/MISC, ABS SOL and ABSMOT Fuses

Circuit Description

The EBCM/EBTCM and the BPMV receive power from three circuits. CKT 642 supplies battery power to the pump motor. CKT 342 supplies ignition power to the solenoid valves, the EBCM/EBTCM, and the pump motor relay coil. CKT 641 supplies battery power to initialize controller operations. CKT 641 also supplies power to the solenoid valve relay coil.

Conditions for Setting the DTC

The pump motor relay is commanded on and the pump relay voltage is less than 8.0 volts and ignition voltage is more than 10.5 volts

Action Taken When the DTC Sets

    • A DTC C1217 is stored
    • The ABS/TCS is disabled
    • The ABS and the TRACTION OFF indicators are turned on

Conditions for Clearing the DTC

    • The condition for the DTC is no longer present and the scan tool Clear DTC function is used
    • 50 ignition cycles have passed with no DTCs detected

Diagnostic Aids

    • Thoroughly inspect the wiring and the connectors. Failure to carefully and fully inspect the wiring and the connectors can result in misdiagnosis. Misdiagnosis may cause replacement of parts without repairing the malfunction.
    • The following conditions are possible causes of the malfunction:
       - A problem in the power distribution system may result in no battery voltage to CKT 642
       - The ABS MOTOR fuse is open
       - CKT 642 has a wiring problem, corrosion, or faulty connections
       - There is an internal malfunction in the EBCM/EBTCM or the BPMV
       - The pump motor relay is faulty
       - The relays are integral to the EBCM/EBTCM and are not serviceable
    • If an intermittent malfunction exists, refer to Intermittents and Poor Connections Diagnosis in Wiring Systems.

Test Description

The numbers below refer to the step numbers on the diagnostic table.

  1. This step checks for a short to ground in CKT 642.

  2. This step checks for an internal short in the BPMV.

  3. This step checks for an open in CKT 642.

DTC C1217 BPMV Pump Motor Relay Contact Circuit Open

Step

Action

Value(s)

Yes

No

1

Was the Diagnostic System Check performed?

--

Go to Step 2

Go to Diagnostic System Check

2

Inspect the ABS MOT fuse in the LH MaxiFuse block.

Is the fuse OK?

--

Go to Step 7

Go to Step 3

3

  1. Install a new ABS MOT fuse.
  2. Cycle the ignition from the OFF to the RUN position with the engine off.
  3. Using a Scan Tool, select ABS/TCS Special Functions.
  4. Run the AUTOMATED Test.
  5. Recheck the ABS MOT fuse.

Is the fuse OK?

--

Go to Diagnostic System Check

Go to Step 4

4

  1. Turn the ignition switch to the OFF position.
  2. Remove the ABS MOT fuse.
  3. Disconnect the EBCM/EBTCM.
  4. Disconnect the pump motor ground.
  5. Connect the J 39700 universal pinout box using the J 39700-25 cable adapter to the EBCM/EBTCM harness connector only.
  6. Using the J 39200 DMM, measure the resistance between the J 39700 terminals E and B.

Is the resistance within specifications?

OL (infinite)

Go to Step 5

Go to Step 10

5

  1. Remove the EBCM/EBTCM from the BPMV.
  2. Connect the J 41247 pinout box to the BPMV.
  3. Measure the resistance between the J 41247 terminal 8 and the BPMV case.

Is the resistance within specifications?

OL (infinite)

Go to Step 9

Go to Step 6

6

Replace the BPMV. Refer to Brake Pressure Modulator Valve Replacement .

Is the replacement complete?

--

Go to Diagnostic System Check

--

7

  1. Reinstall the fuse, if removed.
  2. Using the J 39200 DMM, probe between the ABS MOT fuse test terminals and a good ground in order to measure the voltage.

Is the voltage within specifications?

Battery Voltage

Go to Step 8

Go to Wiring Repairs in Wiring Systems

8

  1. Turn the ignition switch to the OFF position.
  2. Disconnect the EBCM/EBTCM.
  3. Connect the J 39700 universal pinout box using the J 39700-25 cable adapter to the EBCM/EBTCM harness connector only.
  4. Using the J 39200 DMM, measure the voltage from the J 39700 terminal E to terminal B.

Is the voltage within specifications?

Battery Voltage

Go to Step 9

Go to Step 11

9

Replace the EBCM/EBTCM. Refer to Electronic Brake Control Module Replacement .

Is the replacement complete?

--

Go to Diagnostic System Check

--

10

Repair the short to ground in CKT 642. Refer to Wiring Repairs in Wiring Systems.

Is the circuit repair complete?

--

Go to Diagnostic System Check

--

11

Repair the open or high resistance in CKT 642. Refer to Wiring Repairs in Wiring Systems.

Is the circuit repair complete?

--

Go to Diagnostic System Check

--