GM Service Manual Online
For 1990-2009 cars only

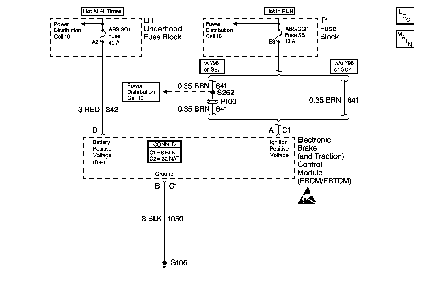
Object Number: 375177  Size: MF
ABS Components
Cell 44: PWR, GND, Pump Motor, Valve Solenoids, and Stoplamp/BTSI Switch
Cell 10: Battery and Underhood Fuse Blocks
Cell 10: MISC LGT, COOL FNS, C/LTR/RDO/CLSTR/MISC, ABS SOL and ABSMOT Fuses
Cell 10: ABS/CCR and CLG FAN/TCC Fuses
Handling ESD Sensitive Parts Notice

Circuit Description

This circuit is designed to detect high vehicle voltage levels to the solenoid relay. High voltage may cause damage to the system.

Conditions for Setting the DTC

The vehicle speed is greater than 8 km/h (5 mph) and the battery voltage is more than 17.0 volts

Action Taken When the DTC Sets

    • A DTC C1237 is stored
    • The ABS/TCS is disabled
    • The ABS and TRACTION OFF indicators are turned on

Conditions for Clearing the DTC

    • The condition for the DTC is no longer present and the scan tool clear DTC function is used
    • 50 ignition cycles have passed with no DTCs detected

Diagnostic Aids

    • Inspect the battery for overcharging
    • If an intermittent malfunction exists, refer to Intermittents and Poor Connections Diagnosis in Wiring Systems.

Test Description

The numbers below refer to the step numbers on the diagnostic table.

  1. This step checks to see what the EBCM/EBTCM is reading as the voltage.

  2. This step checks the actual battery voltage.

DTC C1237 High System Supply Voltage

Step

Action

Value(s)

Yes

No

1

Was the Diagnostic System Check performed?

--

Go to Step 2

Go to Diagnostic System Check

2

  1. Turn all accessories off.
  2. Start the engine.
  3. Using the scan tool, select the ABS/TCS DATA LIST.
  4. Monitor the battery voltage while running the engine at about 2000 rpm.

Is the voltage less than the specified value?

17.0 V

Go to Step 5

Go to Step 3

3

Using the J 39200 DMM, check the actual battery voltage while running the engine at about 2000 rpm.

Is the voltage less than the specified value?

17.0 V

Go to Step 4

Go to Charging System Check in Engine Electrical

4

Test drive the vehicle above 8 km/h (5 mph).

Does DTC C1237 reset?

--

Go to Step 5

Go to Diagnostic System Check

5

Replace the EBCM/EBTCM. Refer to Electronic Brake Control Module Replacement .

Is the replacement complete?

--

Go to Diagnostic System Check

--