GM Service Manual Online
For 1990-2009 cars only
Makes
🢒
Pontiac
🢒
2000
🢒
Bonneville
🢒 Power, Ground, Class 2
Power, Ground, Class 2
Power, Ground, Class 2
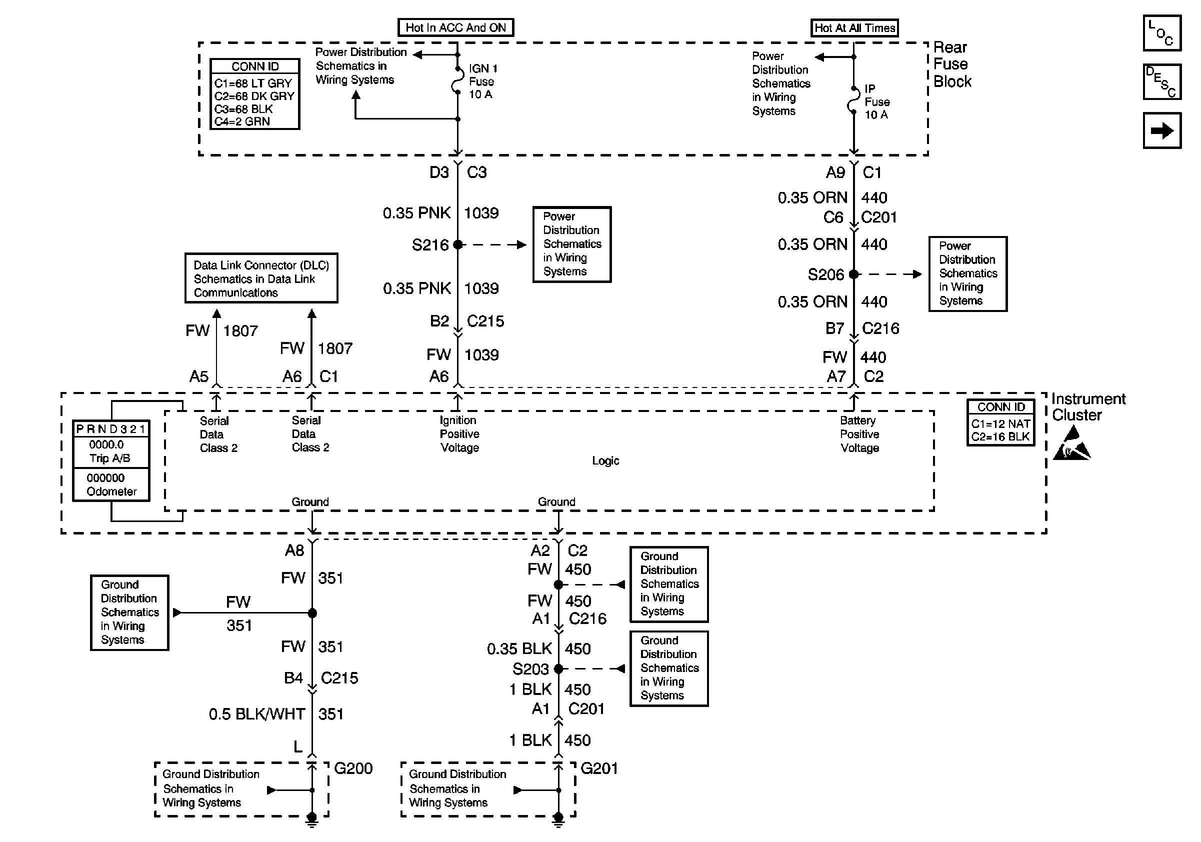
Instrument Cluster and HUD Components
Instrument Cluster Circuit Description
Engine Coolant Temperature, Fuel, Speedometer, and Tachometer Gauges
Handling ESD Sensitive Parts Notice
IGN 1, VENT SOL, and SIR Fuses (Rear Fuse Block)
CIGAR and IP Fuses (Rear Fuse Block)
Serial Data Class 2
IGN 1, VENT SOL, and SIR Fuses (Rear Fuse Block)
CIGAR and IP Fuses (Rear Fuse Block)
G200 (1 of 2)
G201 (1 of 3)
G200 (1 of 2)
G201 (1 of 3)