GM Service Manual Online
For 1990-2009 cars only
Makes
🢒
Pontiac
🢒
2000
🢒
Bonneville
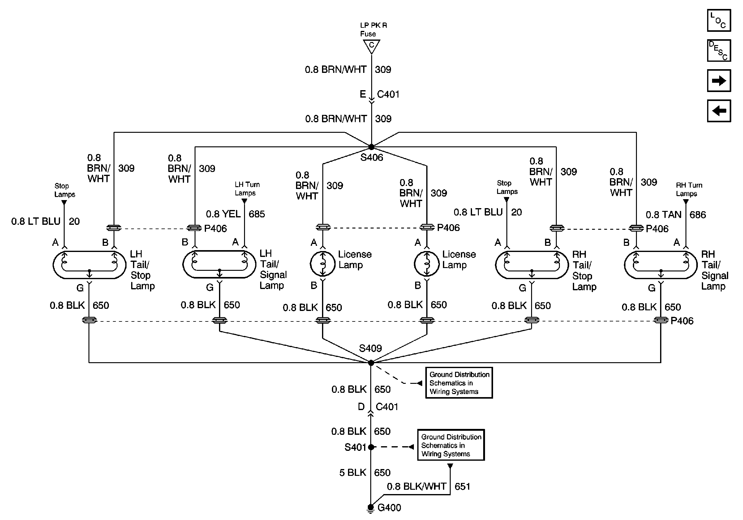
🢒 Rear Compartment Lid Park Lamps
Rear Compartment Lid Park Lamps
Rear Compartment Lid Park Lamps
Lighting Systems Components
Exterior Lights Circuit Description
Turn Signal/Hazard Switch and Cornering Lamps
RH Park Lamps
RH Park Lamps
Stop Lamps
LH Turn Lamps
Stop Lamps
RH Turn Lamps
G400, 1 of 2
G400, 1 of 2