GM Service Manual Online
For 1990-2009 cars only
Makes
🢒
Pontiac
🢒
2000
🢒
Bonneville
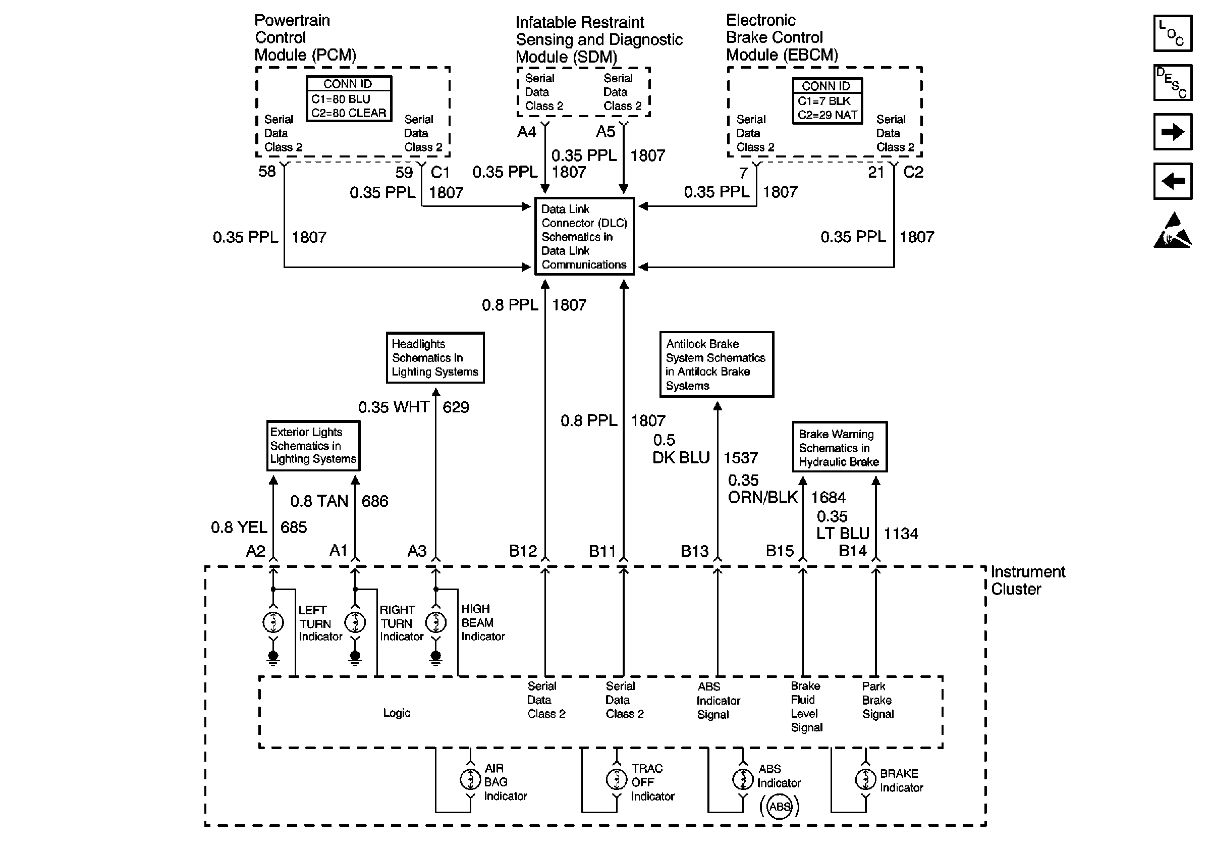
🢒 Air Bag, Brake, High Beam, Lamp, and Turn Signal Indicators
Air Bag, Brake, High Beam, Lamp, and Turn Signal Indicators
Air Bag, Brake, High Beam, Lamp, and Turn Signal Indicators
Instrument Cluster and HUD Component Views
Instrument Cluster Indicator Operation
Driver Information Center
Cruise, Fuel, Oil, and Volt Indicators
Handling ESD Sensitive Parts Notice
Class 2 Serial Data Line
Headlamp Dimmer, Park Gear Input, and High Beam Indicator
Indicators and Stoplamp Switch
LH Turn Lamps
RH Turn Lamps
00 C-Car Cell 41 Brake Warning Schematic