GM Service Manual Online
For 1990-2009 cars only

Refer to

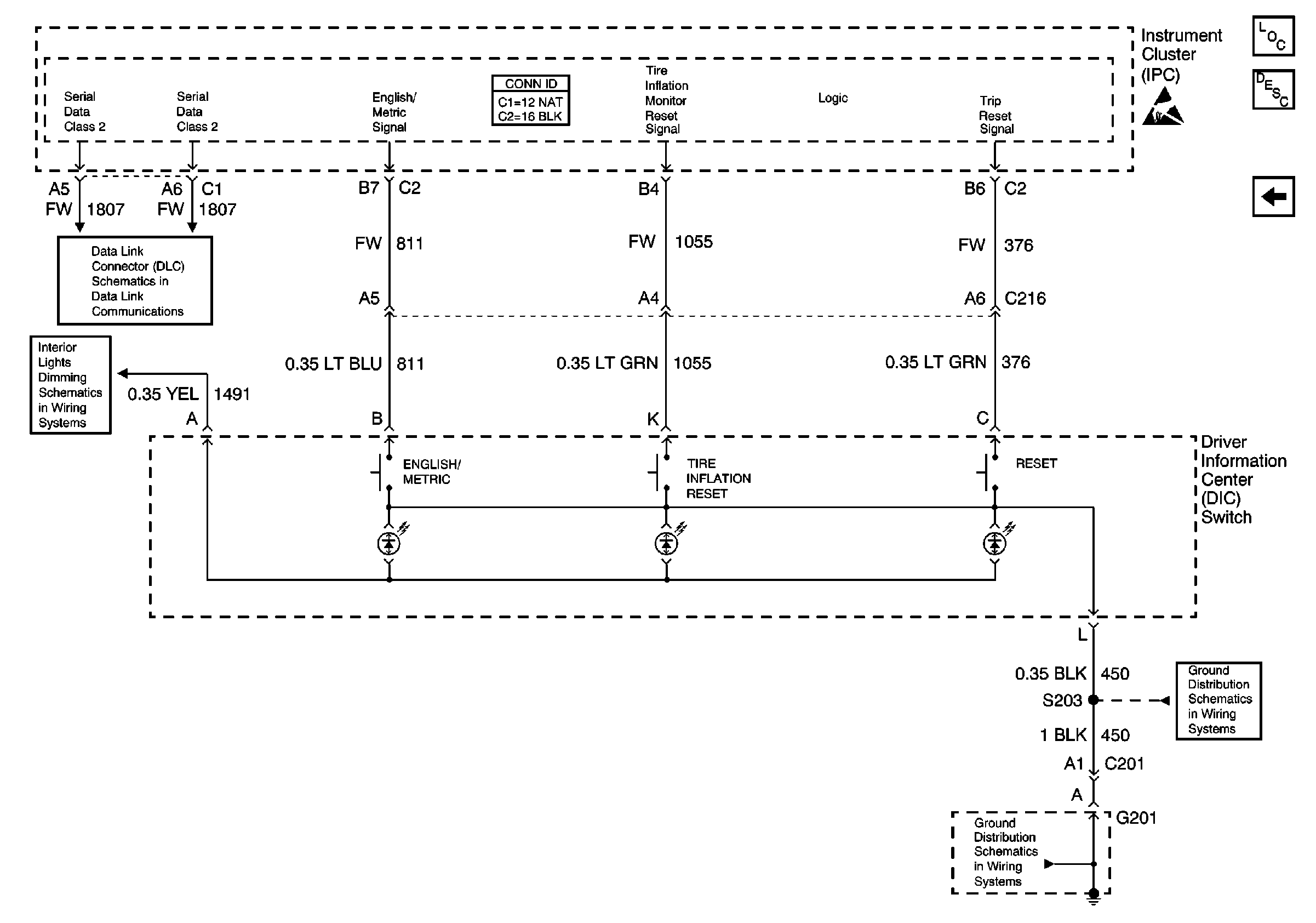
DIC Switch (U50)


Object Number: 429146  Size: FS
Instrument Cluster and HUD Components
Driver Information Center (DIC) or Message Center Description
DIC Switch (U2F)
Systems Monitor
Handling ESD Sensitive Parts Notice
Serial Data Class 2
Wiper/Washer Switch and Fuse
Instrument Panel and Console Dimming
G104 and G105
G201 (1 of 3)
G201 (1 of 3)
or

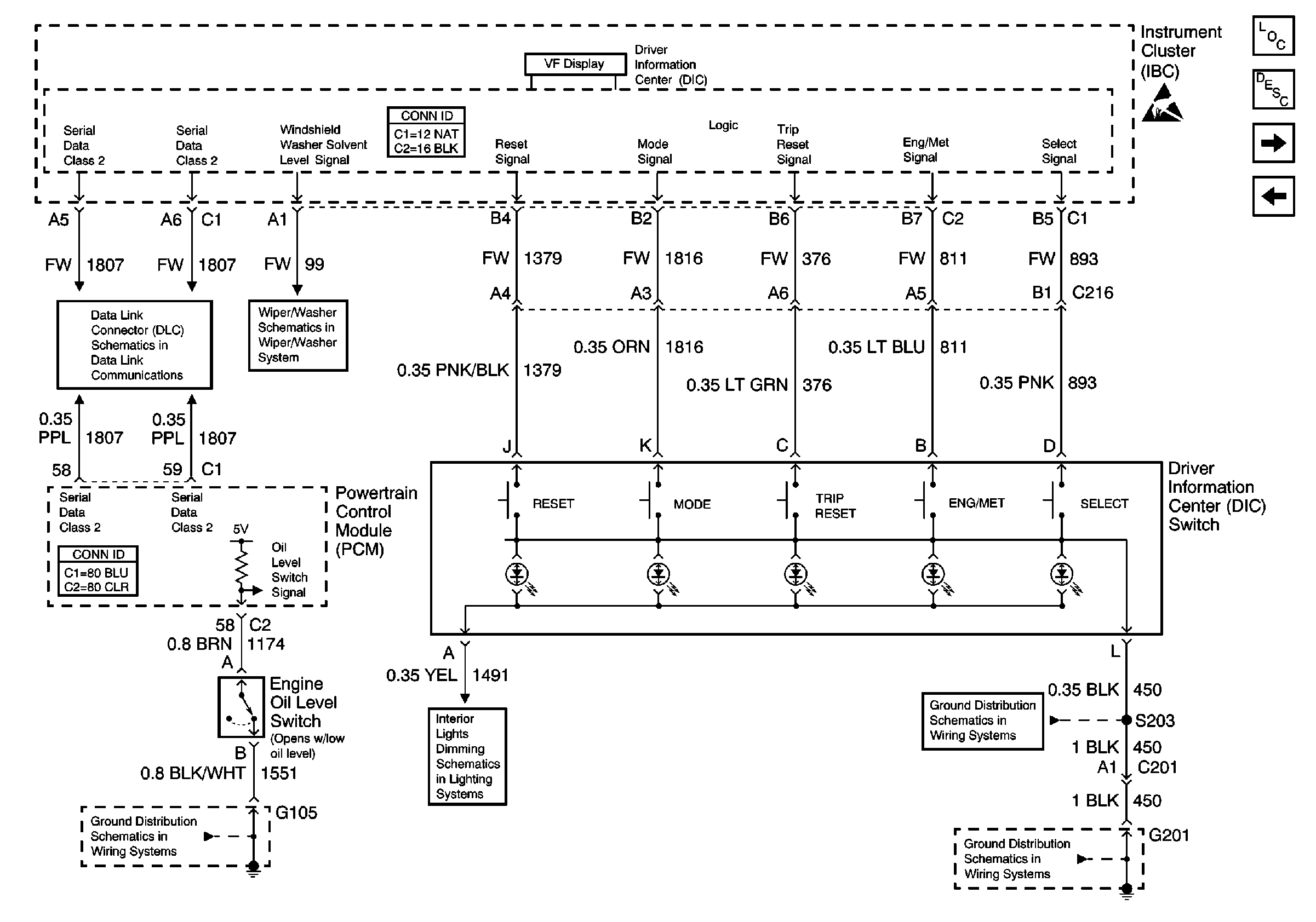
DIC Switch (U2F)


Object Number: 429145  Size: FS
Instrument Cluster and HUD Components
Driver Information Center (DIC) or Message Center Description
Electronic Compass
DIC Switch (U50)
Handling ESD Sensitive Parts Notice
Serial Data Class 2
Instrument Panel and Console Dimming
G201 (1 of 3)
G201 (1 of 3)

Circuit Description

The instrument panel cluster (IPC) contains switch circuts that allow certain functions to be performed when depressed. The IPC monitors these circuit voltage levels and detects when a certain button has been depressed by the voltage drop. If the voltage is not within range for a pre determined amount of time, the IPC detects the malfunction and sets a DTC.

Conditions for Running the DTC

The IPC and the english/metric must be active.

Conditions for Setting the DTC

The IPC detects the english/metric switch low (shorted to ground) for more than 15 continuous seconds.

Action Taken When the DTC Sets

The english/metric switch input will be disabled (ignored) therefore the correct status of the switch will not be known when requested through the ALDL.

Conditions for Clearing the DTC

The IPC does not detect a failure during the diagnostic self test.

Diagnostic Aids

The IPC will store the code as current only as long as the failure exists. An intermittent failure will be stored as a history DTC.

Test Description

The numbers below refer to the step numbers on the diagnostic table.

  1. Tests for a short to ground in the signal circuit.

Step

Action

Value(s)

Yes

No

1

Did you perform the Instrument Cluster Diagnostic System Check?

--

Go to Step 2

Go to Diagnostic System Check - Instrument Cluster

2

  1. Install a scan tool.
  2. Turn ON the ignition, with the engine OFF.
  3. With a scan tool, observe the English/Metric Sw. parameter in the Instrument Panel Cluster data list.

Does the scan tool display OFF?

--

Go to Step 3

Go to Step 4

3

  1. Depress the ENG/MET switch.
  2. With the scan tool, observe the English/Metric Sw. parameter.

Does the English/Metric Sw. parameter change state?

--

Go to Testing for Intermittent Conditions and Poor Connections

Go to Step 4

4

  1. Turn OFF the ignition.
  2. Disconnect the driver information center (DIC) switch.
  3. Turn ON the ignition, with the engine OFF.
  4. With a scan tool, observe the English/Metric parameter.

Does the scan tool display OFF?

--

Go to Step 7

Go to Step 5

5

Notice: The circuit terminates at a flat wire connector. Use the J 42675 Flat Wire Probe Adapter Kit in order to avoid damage and properly test the circuit.

Test the signal circuit of the ENG/MET switch for a short to ground. Refer to Circuit Testing and Wiring Repairs in Wiring Systems.

Did you find and correct the condition?

--

Go to Step 10

Go to Step 6

6

Inspect for poor connections at the harness connector of the IPC. Refer to Testing for Intermittent Conditions and Poor Connections and Connector Repairs in Wiring Systems.

Did you find and correct the condition?

--

Go to Step 10

Go to Step 8

7

Inspect for poor connections at the harness connector of the DIC switch. Refer to Testing for Intermittent Conditions and Poor Connections and Connector Repairs in Wiring Systems.

Did you find and correct the condition?

--

Go to Step 10

Go to Step 9

8

Replace the IPC. Refer to Instrument Cluster Replacement .

Did you complete the replacement?

--

Go to Step 10

--

9

Replace the DIC switch. Refer to Driver Information Display Switch Replacement .

Did you complete the replacement?

--

Go to Step 10

--

10

  1. Use the scan tool in order to clear the DTCs.
  2. Operate the vehicle within the Conditions for Running the DTC as specified in the supporting text.

Does the DTC reset?

--

Go to Step 2

System OK