GM Service Manual Online
For 1990-2009 cars only
Makes
🢒
Pontiac
🢒
1998
🢒
Firebird
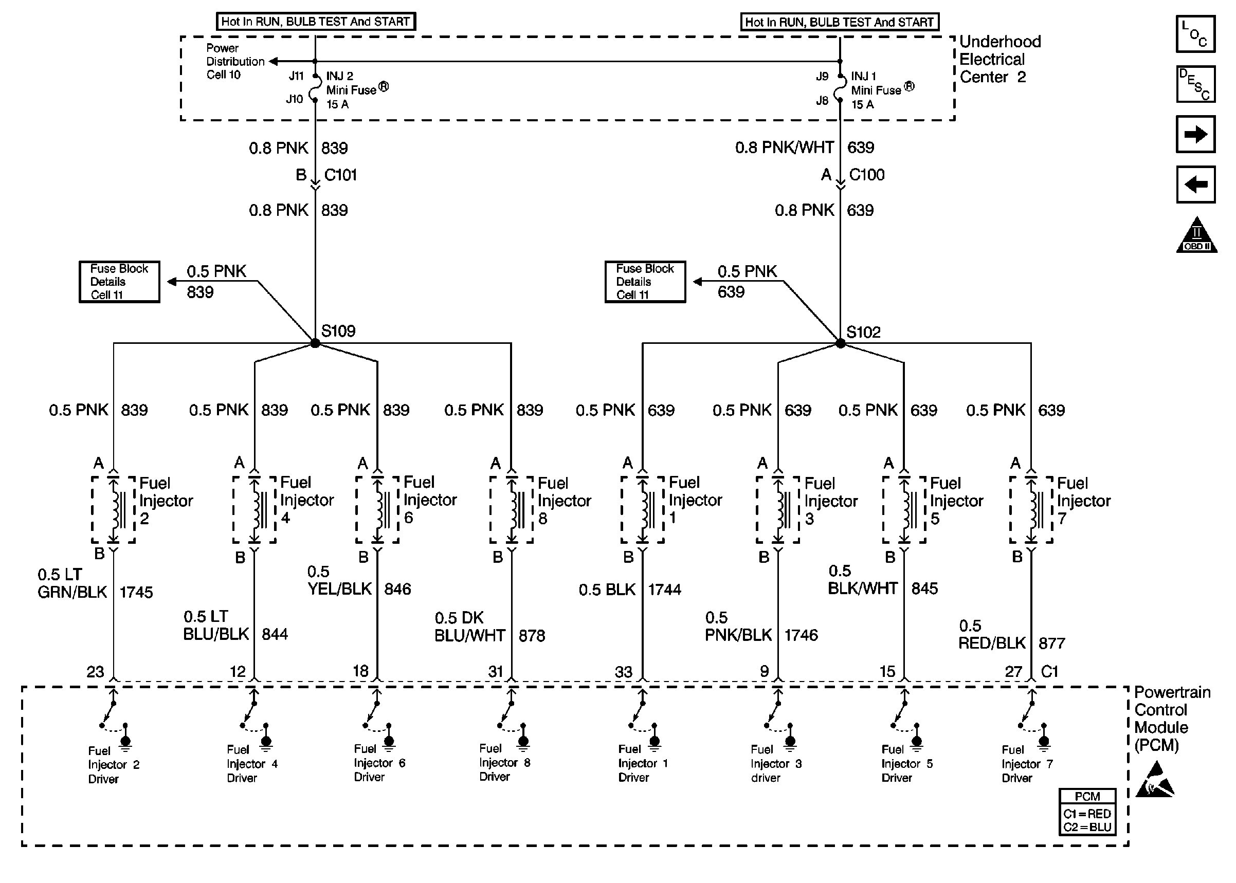
🢒 Injector Circuits
Injector Circuits
Injector Circuits
Engine Controls Components
Fuel Metering System Component Description
Information Sensors
Fuel System
OBD II Symbol Description Notice
Handling ESD Sensitive Parts Notice
Power Distribution Schematics
Fuse Block Schematics
Fuse Block Schematics