GM Service Manual Online
For 1990-2009 cars only
Makes
🢒
Pontiac
🢒
2000
🢒
Firebird
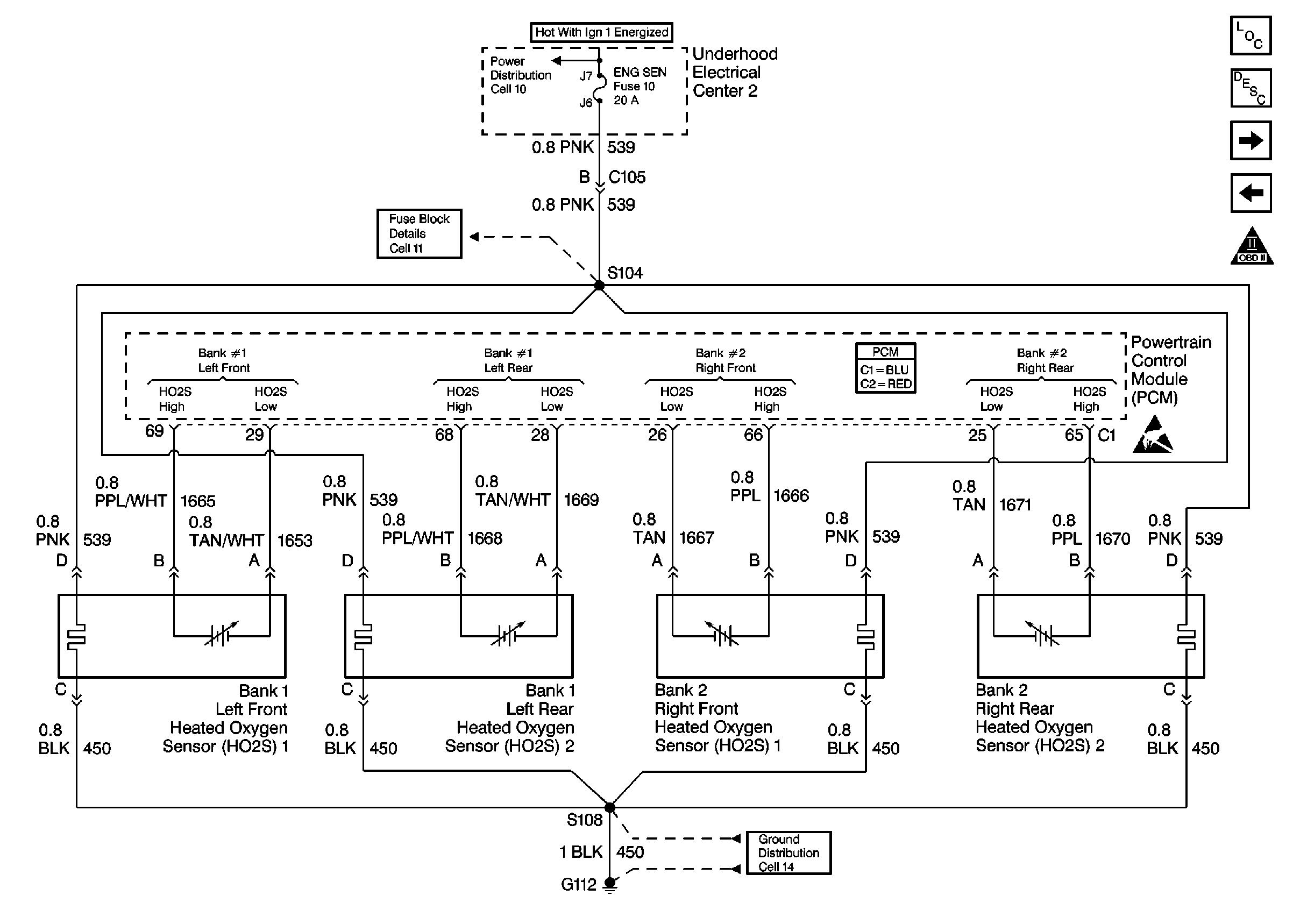
🢒 Heated Oxygen Sensors
Heated Oxygen Sensors
Heated Oxygen Sensors
Engine Controls Components
Information Sensors/Switches Description
AIR and IAC
Information Sensors
OBD II Symbol Description Notice
Ignition Switch and Underhood Electrical Center 2
Handling ESD Sensitive Parts Notice
U/H Center 2: ENG SEN Fuse
G112 V8 VIN G
Powertrain Control Module Connector End Views