GM Service Manual Online
For 1990-2009 cars only
Makes
🢒
Pontiac
🢒
2000
🢒
Firebird
🢒 Engine Cooling Fans
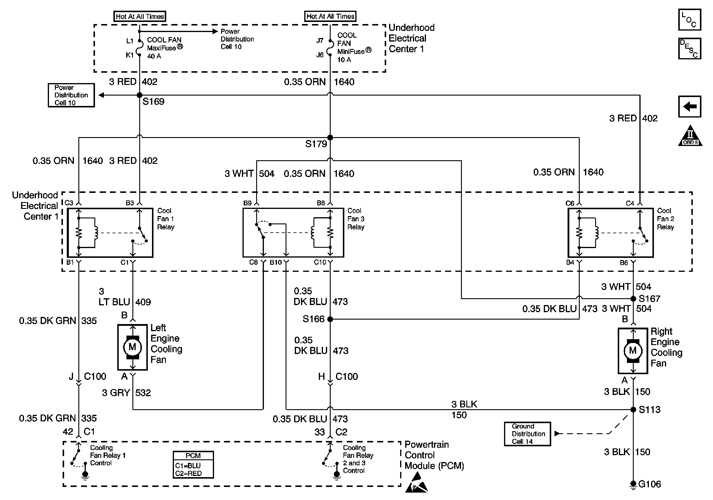
Engine Cooling Fans
Engine Cooling Fans
Engine Controls Components
Engine Cooling Fan Description - Electric
A/C System
OBD II Symbol Description Notice
Battery and Underhood Electrical Center 1
Handling ESD Sensitive Parts Notice
G106
Powertrain Control Module Connector End Views
Battery and Underhood Electrical Center 1