GM Service Manual Online
For 1990-2009 cars only
Makes
🢒
Pontiac
🢒
2000
🢒
Firebird
🢒 5.7L With Traction Control
5.7L With Traction Control
5.7L With Traction Control
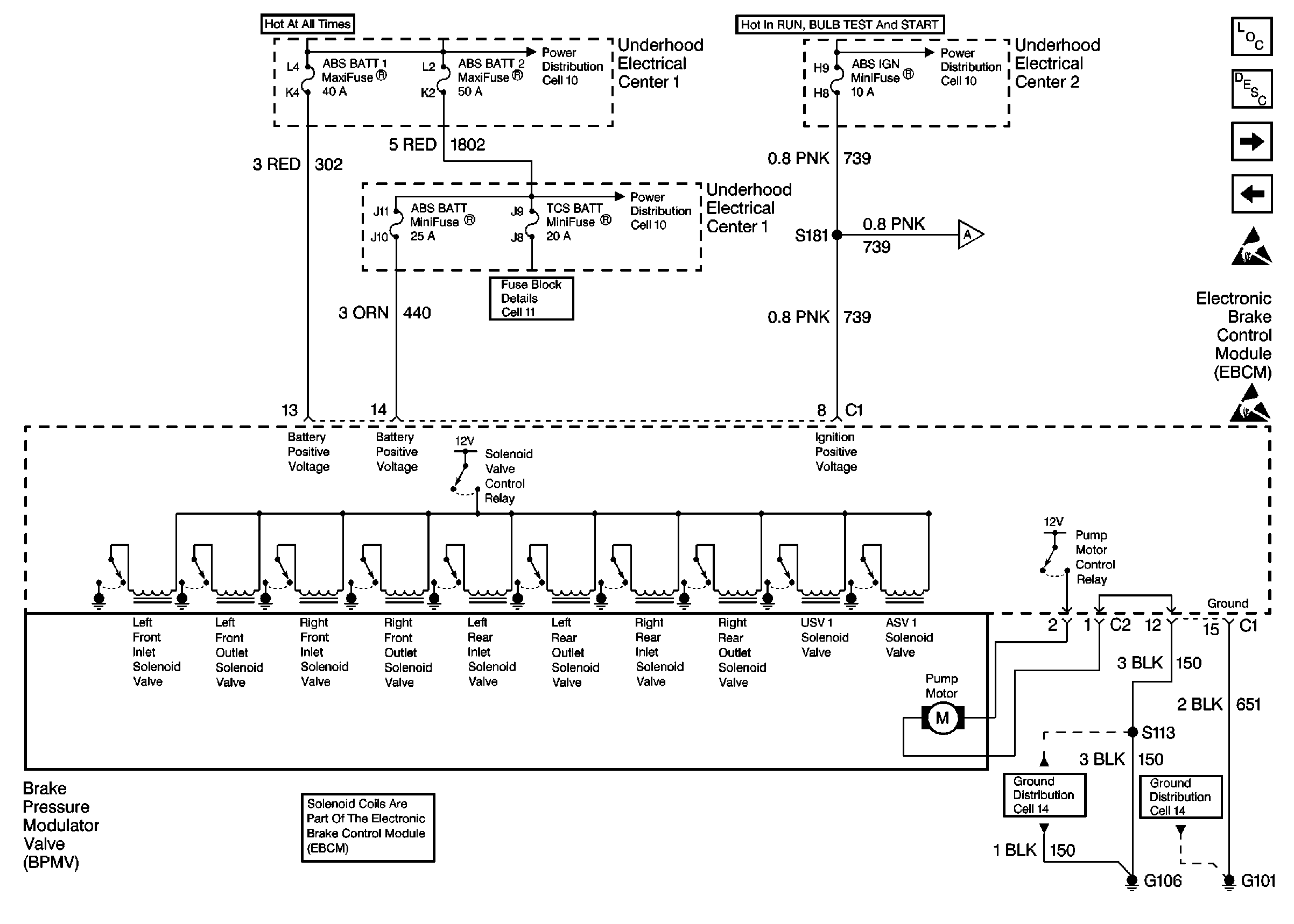
ABS Components
ABS Description
5.7L With Traction Control
3.8L With Traction Control
Handling ESD Sensitive Parts Notice
Battery and Underhood Electrical Center 1
Ignition Switch and Underhood Electrical Center 2
Battery and Underhood Electrical Center 1
U/H Center 1: Cool Fan, TCS BAT, ABS BAT SOL, RH HDLP Door, LH HDLP Door and Horn Fuses
Handling ESD Sensitive Parts Notice
5.7L With Traction Control
G106
G100, G101, G102, G109, G111, G202