GM Service Manual Online
For 1990-2009 cars only
Makes
🢒
Pontiac
🢒
2000
🢒
Firebird
🢒 Instrument Cluster Illumination and Indicators
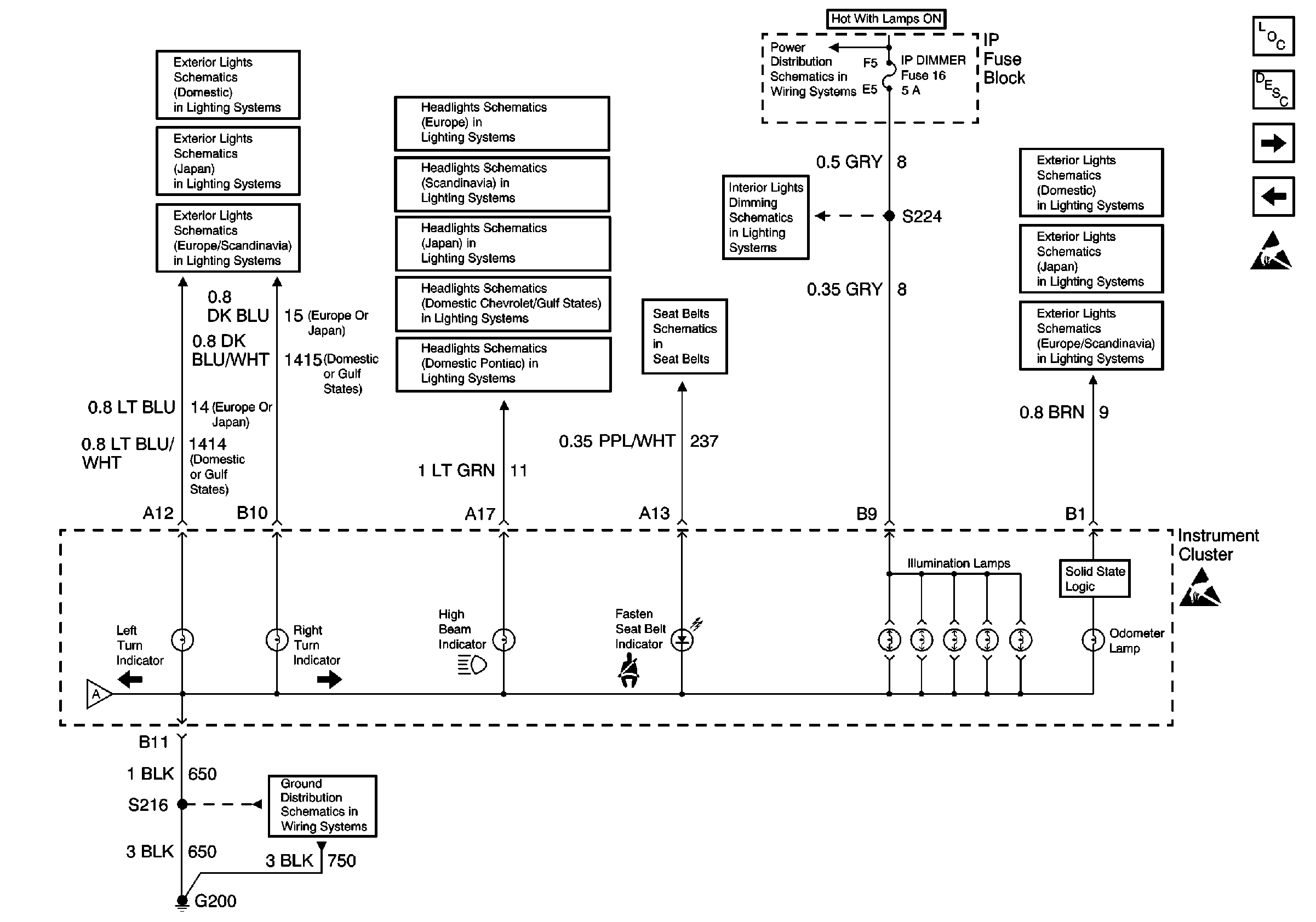
Instrument Cluster Illumination and Indicators
Instrument Cluster Illumination and Indicators
Instrument Cluster Components
Instrument Cluster Circuit Description
Instrument Cluster Indicators
Instrument Cluster Gauges
Handling ESD Sensitive Parts Notice
Exterior Lights Schematics Pontiac
Exterior Lights Schematics Japan
Exterior Lights Schematics Europe and Scandinavia
Chevrolet
Chevrolet
Chevrolet
DRL Module, High and Lowbeam Headlights
DRL Module, Headlamp Opening Door Assembly
00 F Seat Belts
Interior Illumination Lamps 1 of 2
Exterior Lights Schematics Pontiac
Exterior Lights Schematics Japan
Exterior Lights Schematics Europe and Scandinavia
Instrument Cluster Gauges
G200 Splice S216