GM Service Manual Online
For 1990-2009 cars only
Makes
🢒
Pontiac
🢒
2000
🢒
Firebird
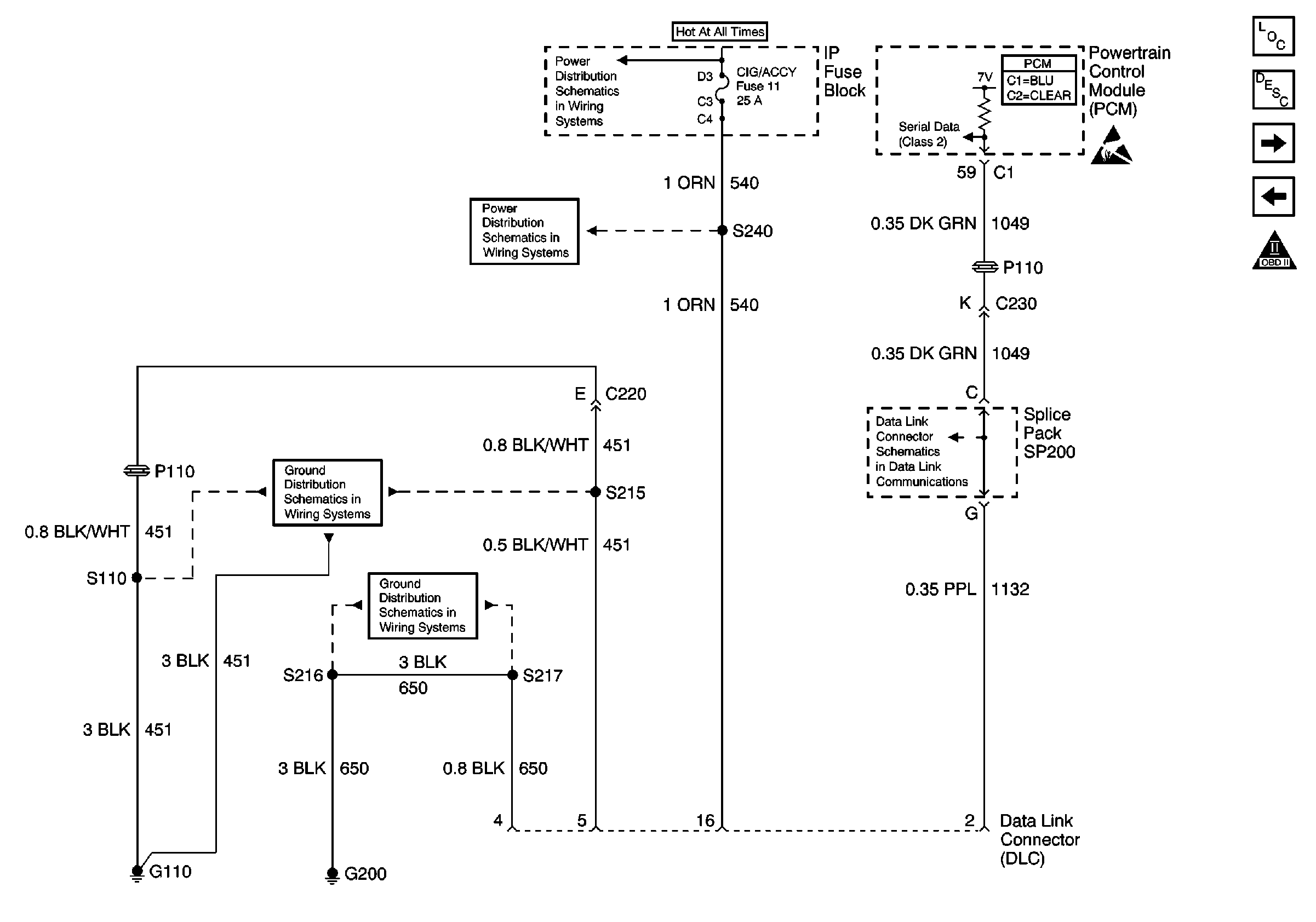
🢒 Class 2 Serial Data Line
Class 2 Serial Data Line
Class 2 Serial Data
Engine Controls Components
Ignition Controls, Knock Sensors
Ignition Relay
OBD II Symbol Description Notice
Handling ESD Sensitive Parts Notice
Powertrain Control Module Connector End Views
Class 2 Serial Data Line
Fusible Links, CIG/ACCY, ENG CTRL, IGN, I/P-1, I/P-2, and PWR ACCY Fuses
Fusible Links, CIG/ACCY, ENG CTRL, IGN, I/P-1, I/P-2, and PWR ACCY Fuses
G110 V6 VIN K
G200 Splice S216