GM Service Manual Online
For 1990-2009 cars only
Makes
🢒
Pontiac
🢒
2001
🢒
Firebird
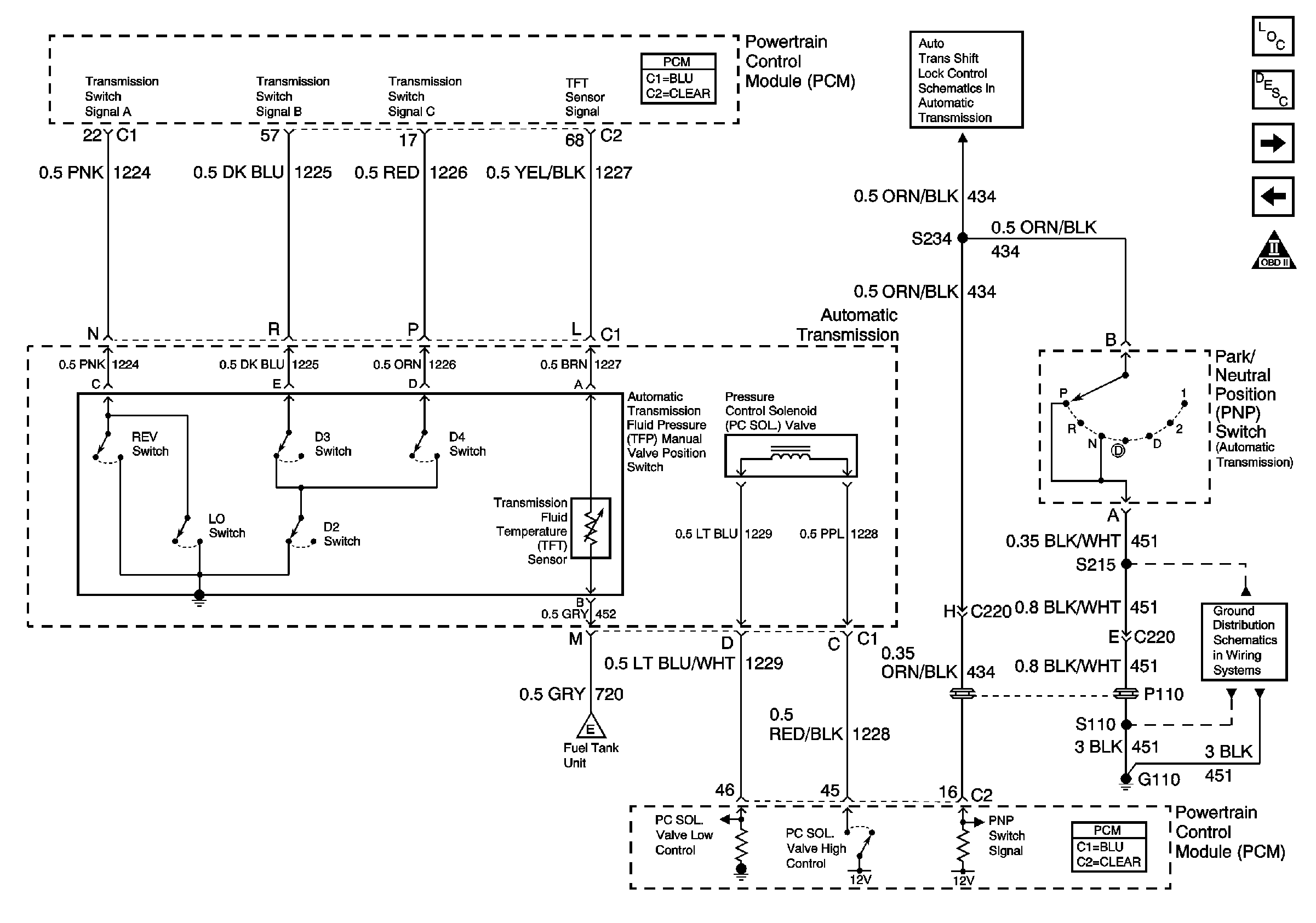
🢒 Automatic Transmission, Park Neutral Position Switch
Automatic Transmission, Park Neutral Position Switch
Automatic Transmission, Park Neutral Position Switch
Master Electrical Component List
Powertrain Control Module Description
A/C HVAC Control
Automatic Transmission, Brake Switch
OBD II Symbol Description Notice
G110 V6 VIN K
Powertrain Control Module Connector End Views
AT Shift Lock Control Actuator Solenoid, and Diode
Powertrain Control Module Connector End Views
Fuel Pump Controls