GM Service Manual Online
For 1990-2009 cars only
Makes
🢒
Pontiac
🢒
2002
🢒
Firebird
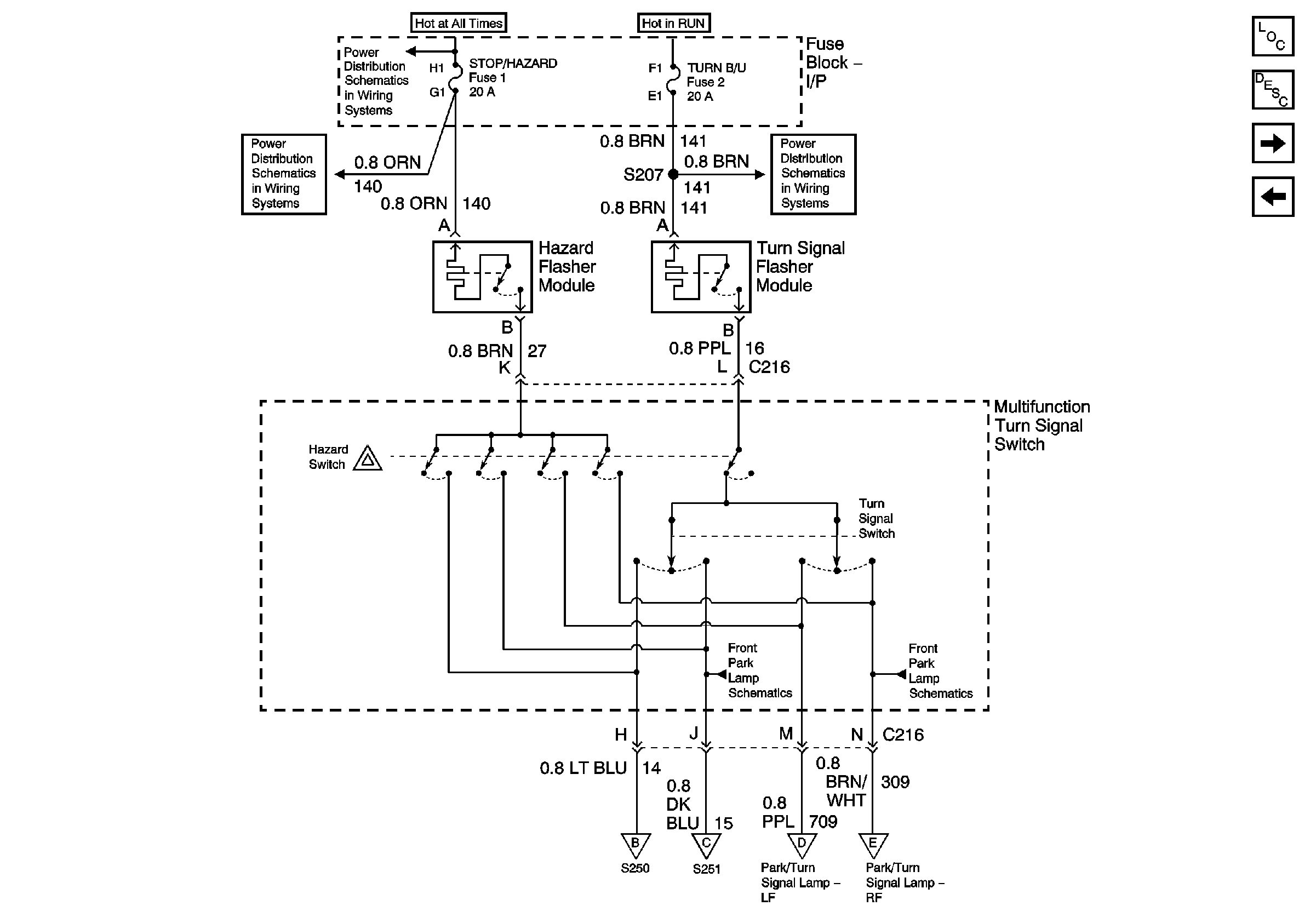
🢒 Turn Signal Controls Chevrolet Japan
Turn Signal Controls Chevrolet Japan
Turn Signal Controls - Chevrolet - Japan
Master Electrical Component List
Interior Lighting Systems Description and Operation
Turn Signal Lamps Chevrolet Japan
Rear Park Lamps Chevrolet Japan
I/P-2,TAIL LPS, STOP/HAZARD,PWR ACCY and CIG/ACCY Fuses
I/P-2,TAIL LPS, STOP/HAZARD,PWR ACCY and CIG/ACCY Fuses
HVAC and TURN B/U Fuses
Turn Signal Lamps Chevrolet Japan
Turn Signal Lamps Chevrolet Japan
Turn Signal Lamps Chevrolet Japan
Turn Signal Lamps Chevrolet Japan