GM Service Manual Online
For 1990-2009 cars only
Makes
🢒
Pontiac
🢒
2002
🢒
Firebird
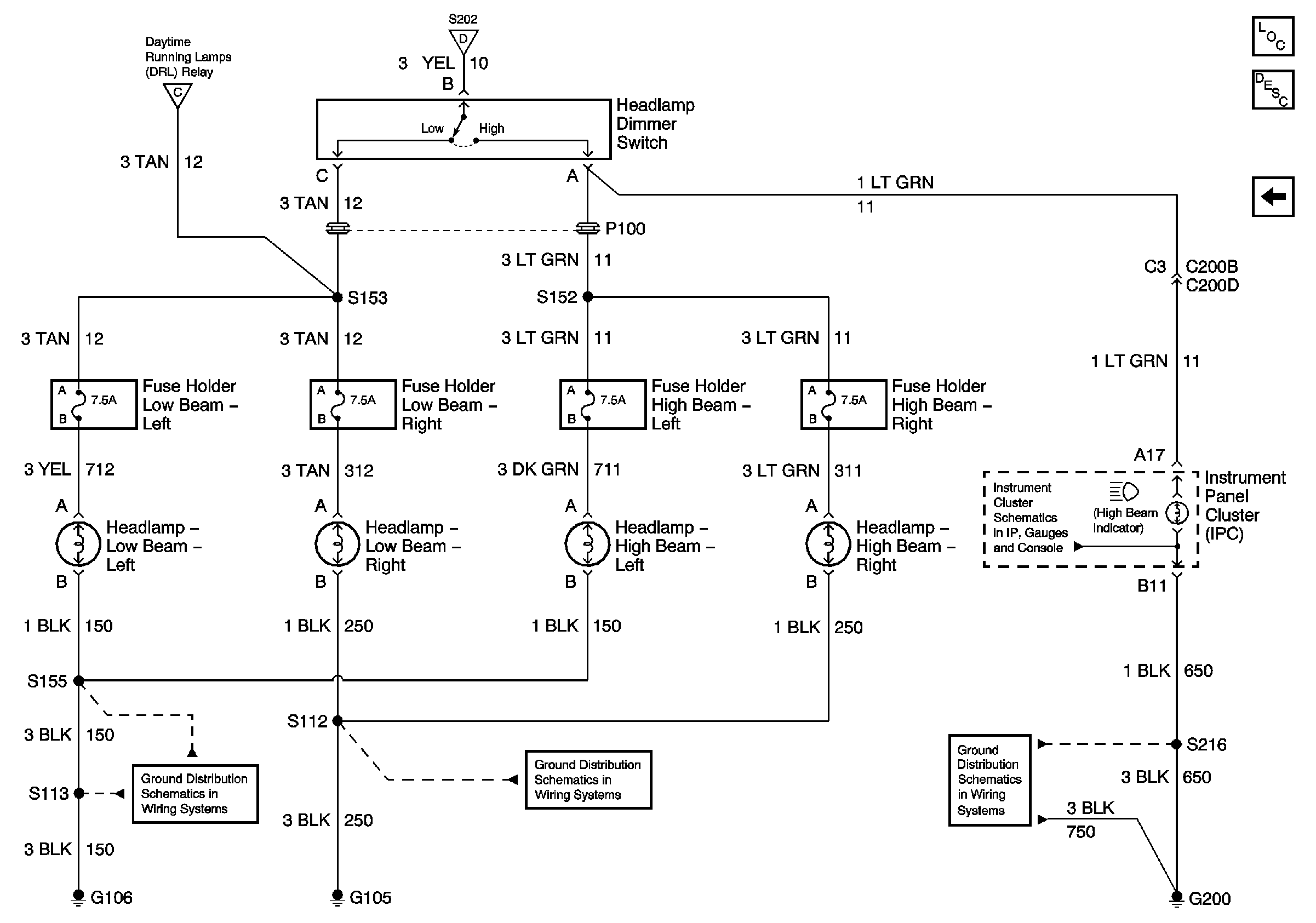
🢒 Headlights Chevrolet Scandinavia
Headlights Chevrolet Scandinavia
Headlights - Chevrolet - Scandanavia
Master Electrical Component List
Exterior Lighting Systems Description and Operation
Power,Ground and Headlight Switch Control Chevrolet Scandanavia
Power,Ground and Headlight Switch Control Chevrolet Scandanavia
Power,Ground and Headlight Switch Control Chevrolet Scandanavia
G106
G105
Lamp Indicators
G200 Page 1 of 3