GM Service Manual Online
For 1990-2009 cars only
Makes
🢒
Pontiac
🢒
2002
🢒
Firebird
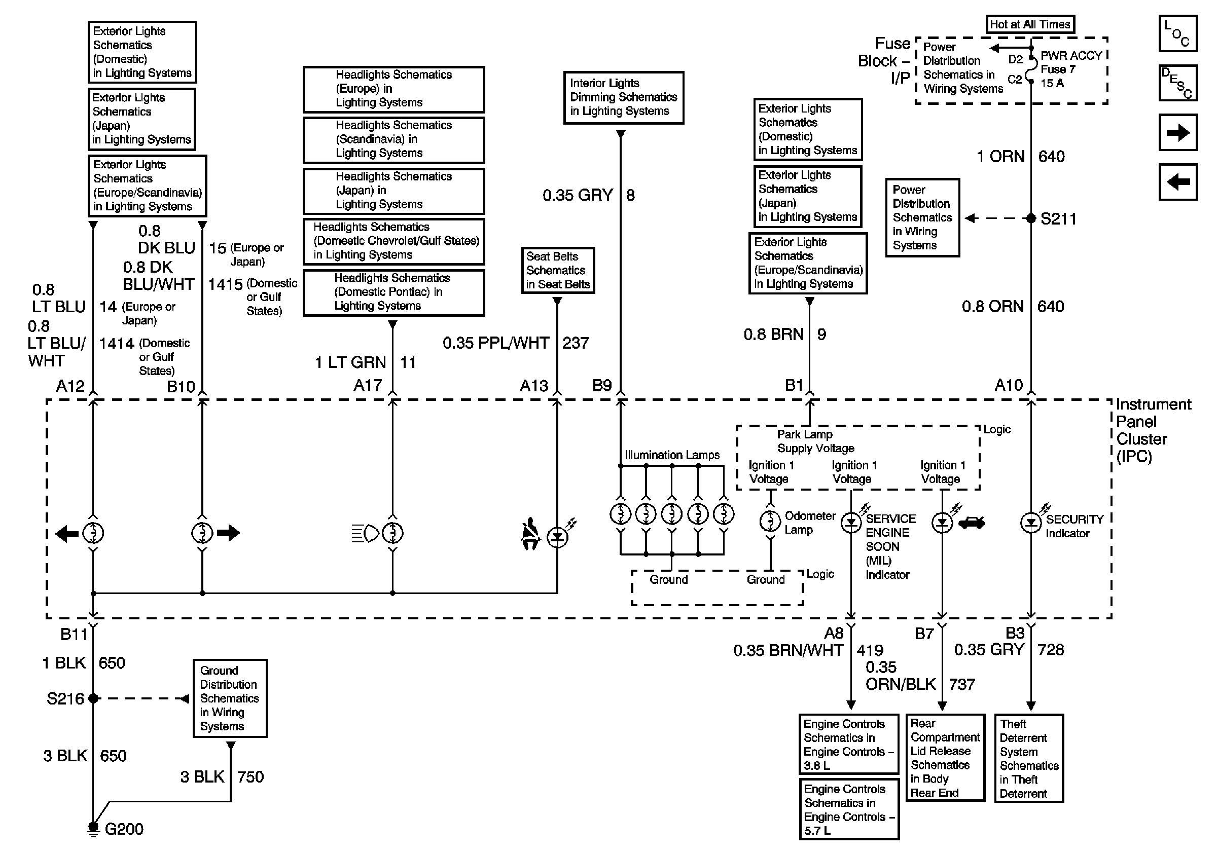
🢒 Lamp Indicators
Lamp Indicators
Lamp Indicators
Master Electrical Component List
Indicator/Warning Message Description and Operation
Indicators
Engine Coolant Temperature Gauge, Engine Oil Pressure Gauge and Fuel Level Gauge
Turn Signal Lamps Chevrolet Domestic and Gulf
Turn Signal Lamps Chevrolet Japan
Turn Signal Control Chevrolet Europe and Scandinavia
G200 Page 1 of 3
Chevrolet (Europe)
Headlights Chevrolet Scandinavia
Chevrolet (Japan)
Headlights Chevrolet Domestic and Gulf
Headlights Pontiac
Interior Lamps
Seat Belt Schematic
Front Parklamps Chevrolet Domestic and Gulf
Front Park Lamps Chevrolet Japan
Parklamps Chevrolet Europe and Scandanavia
I/P-2,TAIL LPS, STOP/HAZARD,PWR ACCY and CIG/ACCY Fuses
I/P-2,TAIL LPS, STOP/HAZARD,PWR ACCY and CIG/ACCY Fuses
G200 Page 1 of 3
Module Power,Ground,Serial Data and MIL
Module Power,Ground Serial Data and MIL
Rear Compartment Lid Release/Ajar Controls
Vehicle Theft Deterrent Components