GM Service Manual Online
For 1990-2009 cars only
Makes
🢒
Pontiac
🢒
2000
🢒
Grand Am
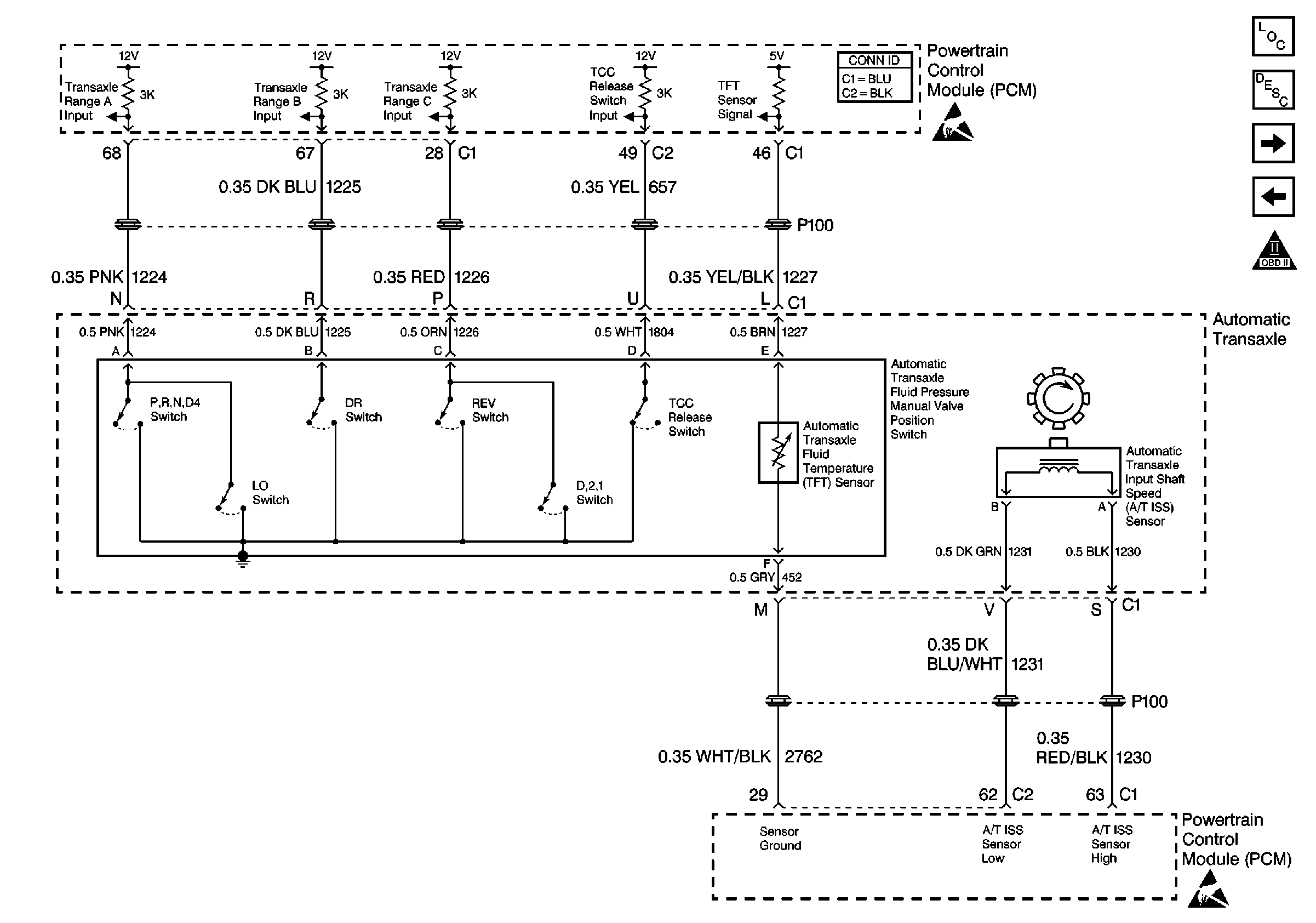
🢒 Automatic Transaxle
Automatic Transaxle
Automatic Transaxle
Engine Controls Components
Powertrain Control Module Description
A/C Compressor Clutch
Power, Ground, CPP, AT, and Cruise Control Brake Switch
OBD II Symbol Description Notice
Handling ESD Sensitive Parts Notice
Handling ESD Sensitive Parts Notice