GM Service Manual Online
For 1990-2009 cars only
Makes
🢒
Pontiac
🢒
2001
🢒
Grand Am
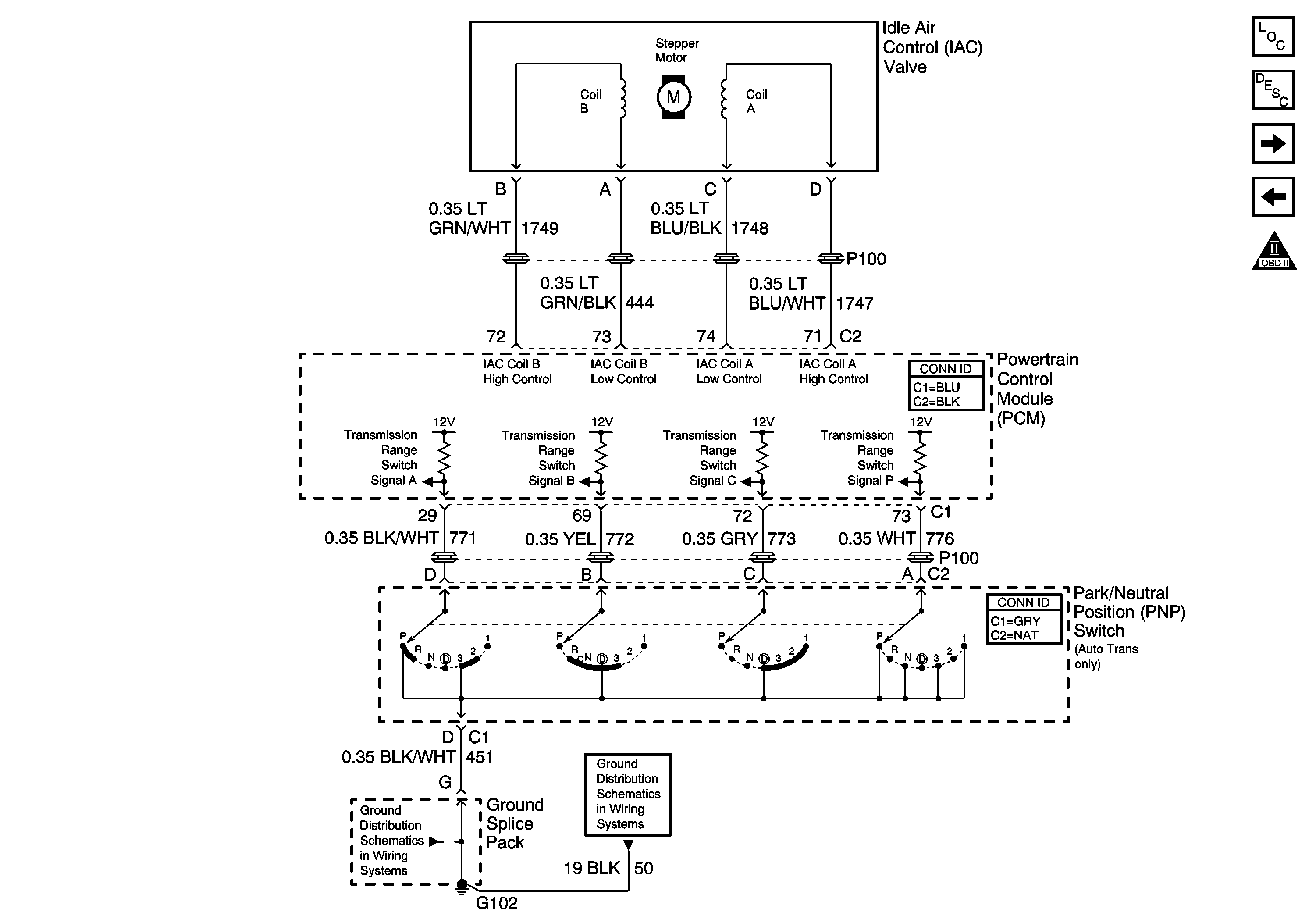
🢒 Oil Pressure Sensor, IAC, PNP, and Generator
Oil Pressure Sensor, IAC, PNP, and Generator
Oil Pressure Sensor, IAC, PNP, and Generator
Master Electrical Component List
Powertrain Control Module Description
Power, Ground, CPP, Cruise Control, Brake Switch
Power, Ground, HO2S2, O2S1
OBD II Symbol Description Notice
G102 and G104
G102 and G104