GM Service Manual Online
For 1990-2009 cars only
Makes
🢒
Pontiac
🢒
2001
🢒
Grand Am
🢒 PCM General References
PCM General References
PCM General References
Master Electrical Component List
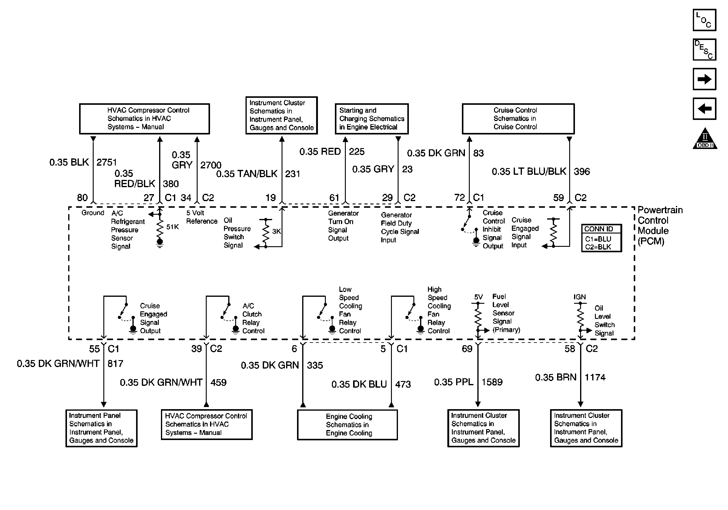
Powertrain Control Module Description
Automatic Transmission References
Power, Cruise Control Brake Switch, VSS
OBD II Symbol Description Notice
Fault Indicators
Fault Indicators
Cooling Fan Motor Controls
Compressor Controls
Power, Ground, and DLC
Compressor Controls
Fault Indicators
Charging System
Cruise Control Module