GM Service Manual Online
For 1990-2009 cars only
Makes
🢒
Pontiac
🢒
2005
🢒
Grand Am
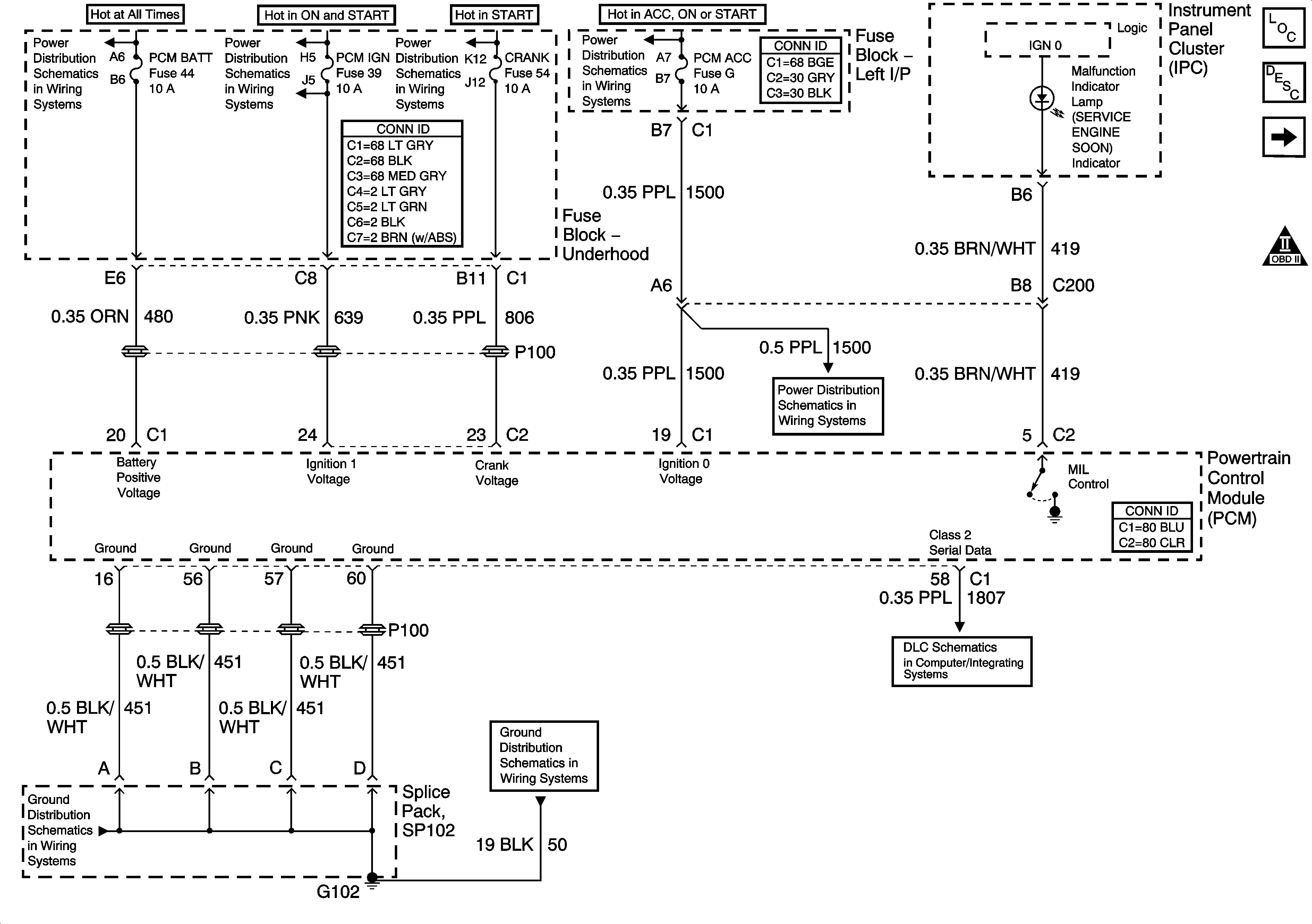
🢒 Power, Ground, Serial Data and MIL
Power, Ground, Serial Data and MIL
Power, Ground, Serial Data and MIL
Master Electrical Component List
Powertrain Control Module Description
5 Volt Reference Bussing
Engine Controls Schematic Icons
L/H BEC BATT1, AUX PWR/CIGAR, PARK LPS, PCM BATT, PWR MIRROR, DR LOCK, TRUNK REL/RFA/Radio Amp Fuses and PWR SEAT Circuit Breaker
IGN SW-BATT2, WIPER, AIR BAG, TURN LPS, IGN MOD, B/U LP/BTSI, PCM IGN, F/P INJR, A/C BFC, AUTO TRANS, ABS/EVO/IGN Fuses
IGN SW BATT1, ERLS, HTR-A/C and CRANK Fuses
PCM ACC and IPC/BFC ACC Fuses
PCM ACC and IPC/BFC ACC Fuses
G102 and G104
G102 and G104
Data Link Connector (DLC) Schematics