GM Service Manual Online
For 1990-2009 cars only
Makes
🢒
Pontiac
🢒
1998
🢒
Grand Prix
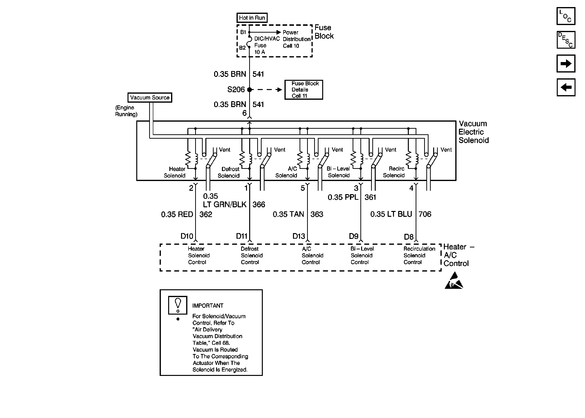
🢒 Vacuum Electric Solenoid
Vacuum Electric Solenoid
Vacuum Electric Solenoid
HVAC Components
HVAC Air Delivery/Temperature Control Circuit Description
Air Delivery System
Temperature Electric Actuators
Cell 11: DIC/HVAC and HVAC CTRL Fuses
Handling ESD Sensitive Parts Notice