GM Service Manual Online
For 1990-2009 cars only
Makes
🢒
Pontiac
🢒
2002
🢒
Grand Prix
🢒 Subsystem References
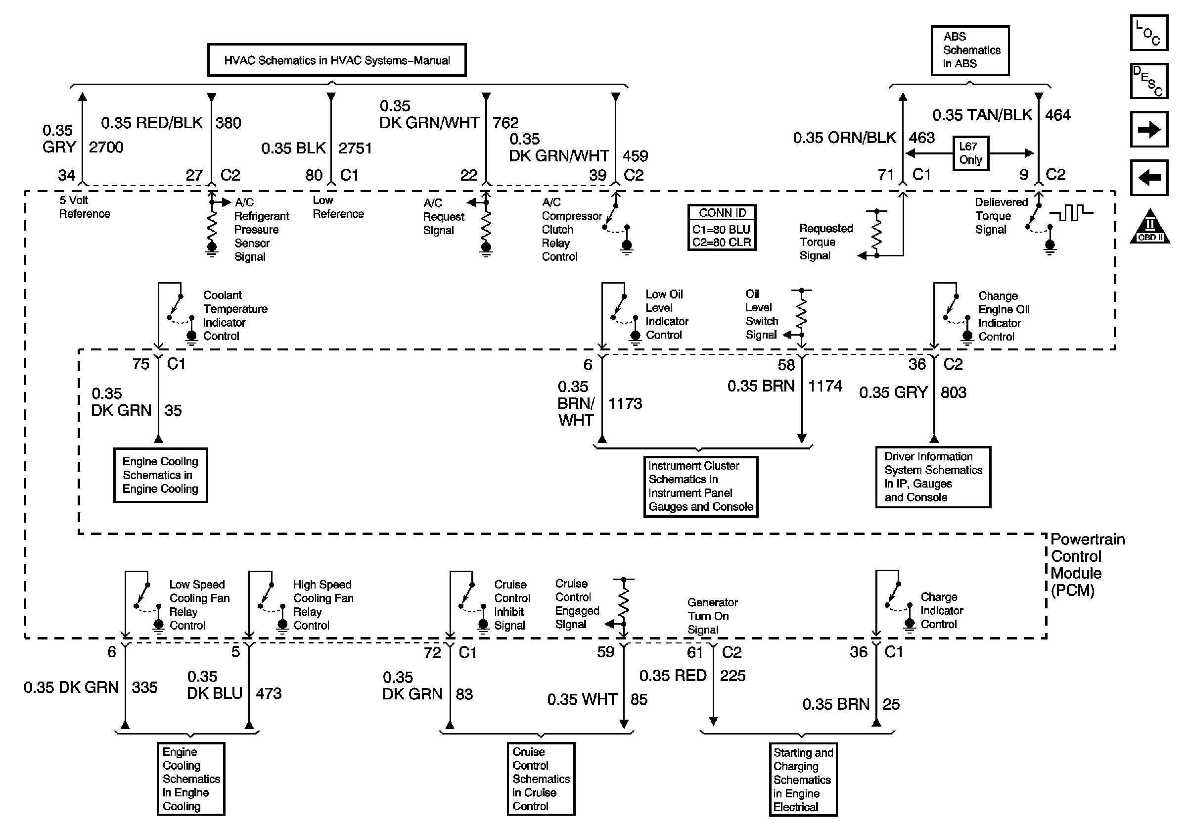
Subsystem References
Controlled/Monitored Subsystem References
Master Electrical Component List
Powertrain Control Module Description
Automatic Transmission Controls References
IAC and EGR Valves
OBD II Symbol Description Notice
A/C Compressor Controls
ABS Indicator, Torque Signals, and Steering
Indicators
Indicators
Driver Information Center (DIC) (W/O U40)
Fans
Cruise Control
Generator