GM Service Manual Online
For 1990-2009 cars only
Makes
🢒
Pontiac
🢒
2003
🢒
Grand Prix
🢒 Power, Ground, and Brake Pressure Modulator Valves
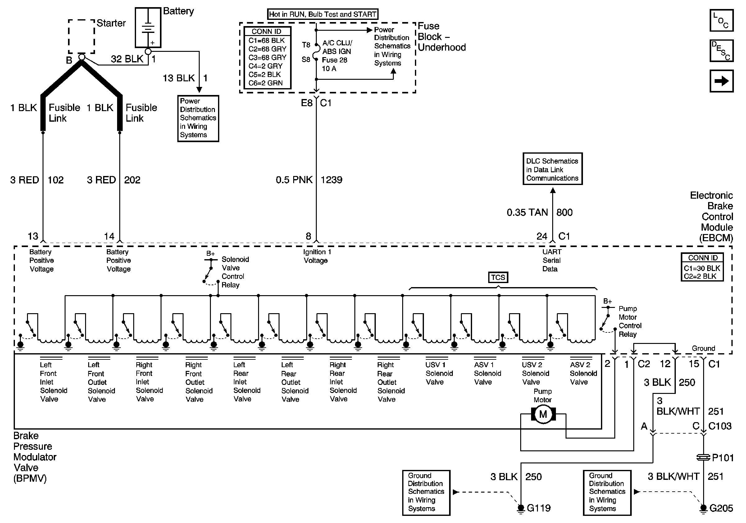
Power, Ground, and Brake Pressure Modulator Valves
Power, Ground, Brake Pressure Modulator Valves
Master Electrical Component List
ABS Description and Operation
ABS Indicator, Torque Signals, and Steering
BATT MAIN 1, 2 IGN MAIN 1, 2 HEADLAMPS, PARK LP, HVAC/RKE BATT, AIR, ECM SENSE, ALT SENSE, B/U LAMP, COOL FAN 1, 2 FUEL PUMP, FOG LP, HORN, INJ, IGN1-UH, ELEK IGN, TCC, A/C CLU/ABS IGN Fuses
TCC, ELEK IGN, and A/C CLU/ABS IGN Fuses
DLC
G119
G205