GM Service Manual Online
For 1990-2009 cars only
Makes
🢒
Pontiac
🢒
2003
🢒
Grand Prix
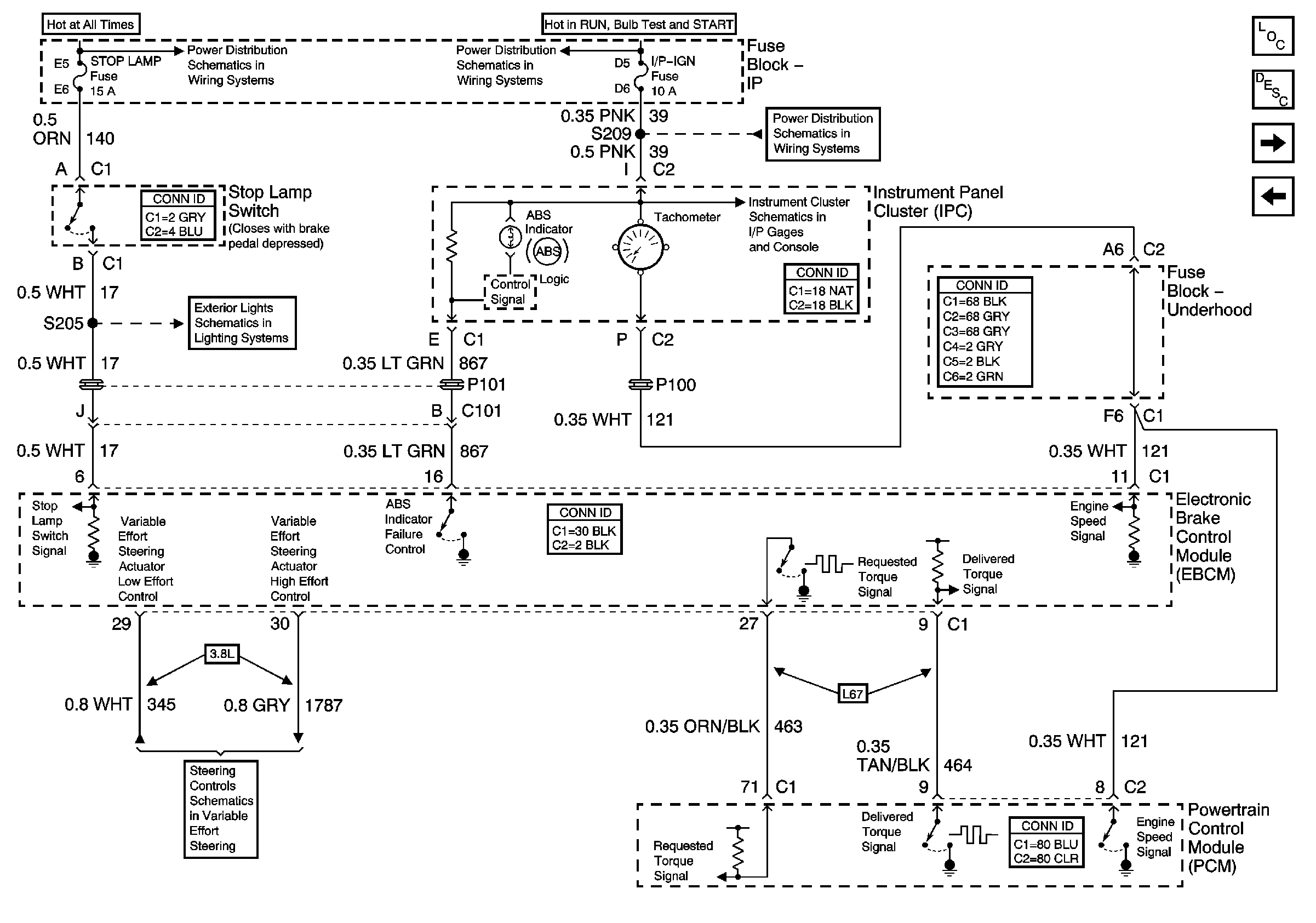
🢒 ABS Indicator, Torque Signals, and Steering
ABS Indicator, Torque Signals, and Steering
ABS Indicator, Torque Signals, and Steering
Master Electrical Component List
ABS Description and Operation
Traction Control
Power, Ground, and Brake Pressure Modulator Valves
BATT MAIN 1, ONSTAR, STOPLAMP, INT LAMP, and CIG LTR Fuses
IP-IGN, CRUISE, and ECM Fuses
IP-IGN, CRUISE, and ECM Fuses
Gages
Rear Turn Signals and Stop Lamps
Steering Controls