GM Service Manual Online
For 1990-2009 cars only
Makes
🢒
Pontiac
🢒
2006
🢒
Grand Prix
🢒 Power, Ground and Serial Data
Power, Ground and Serial Data
Power, Ground and Serial Data
Master Electrical Component List
Transmission General Description
Control Module References
Tap Shift Switches, Stop Lamp Signal, TFT Sensor and TCC, Shift Solenoids
Automatic Transmission Schematic Icons
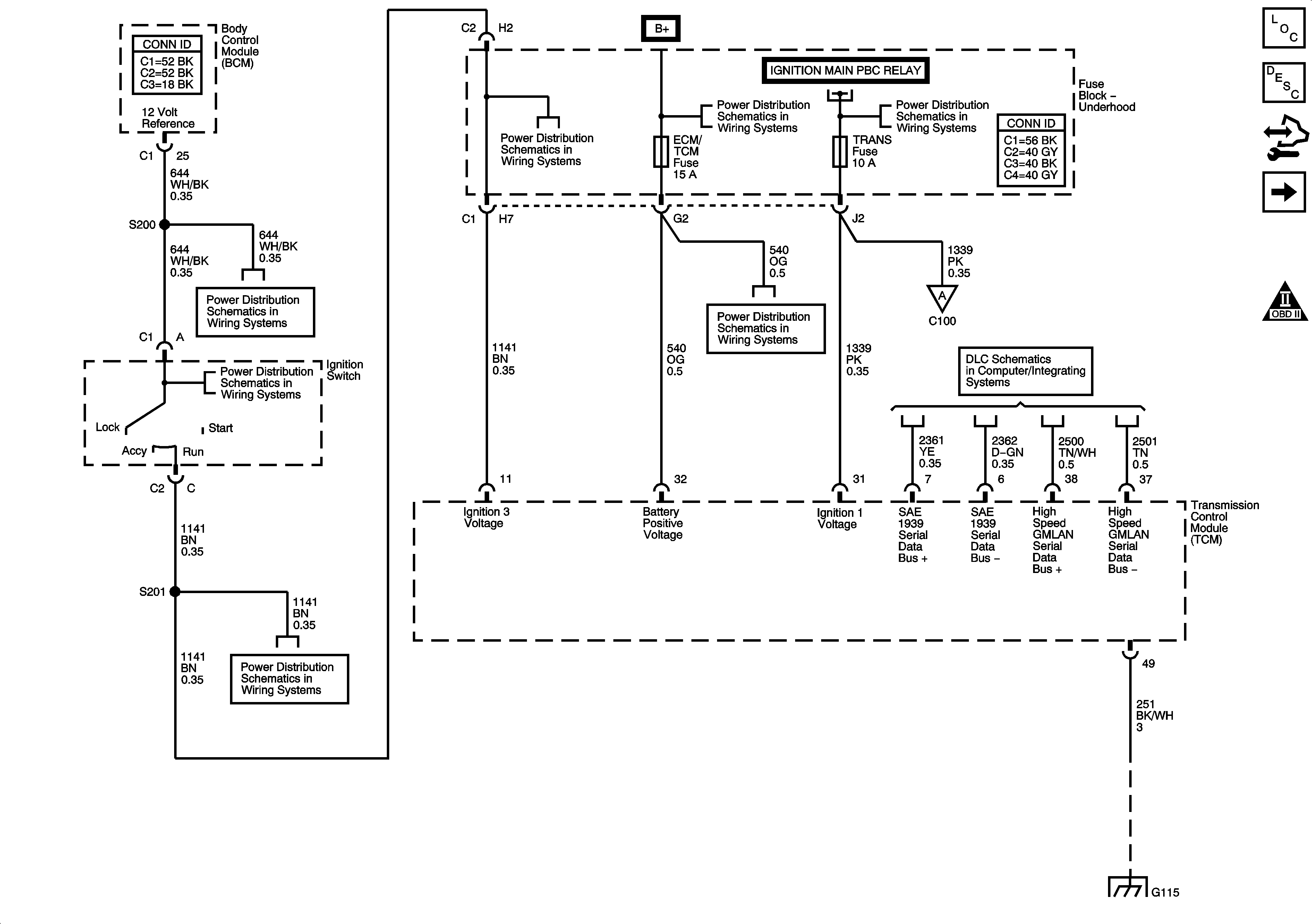
Ignition Switch
Fuse Block - Underhood Bussing
Fuse Block - Underhood Bussing
Ignition Switch
Ignition Switch
Ignition Switch
Ignition Switch
Fuse Block - Underhood Bussing
Tap Shift Switches, Stop Lamp Signal, TFT Sensor and TCC, Shift Solenoids
LS4
G102, G112 and G201