GM Service Manual Online
For 1990-2009 cars only
Makes
🢒
Pontiac
🢒
2001
🢒
Sunfire
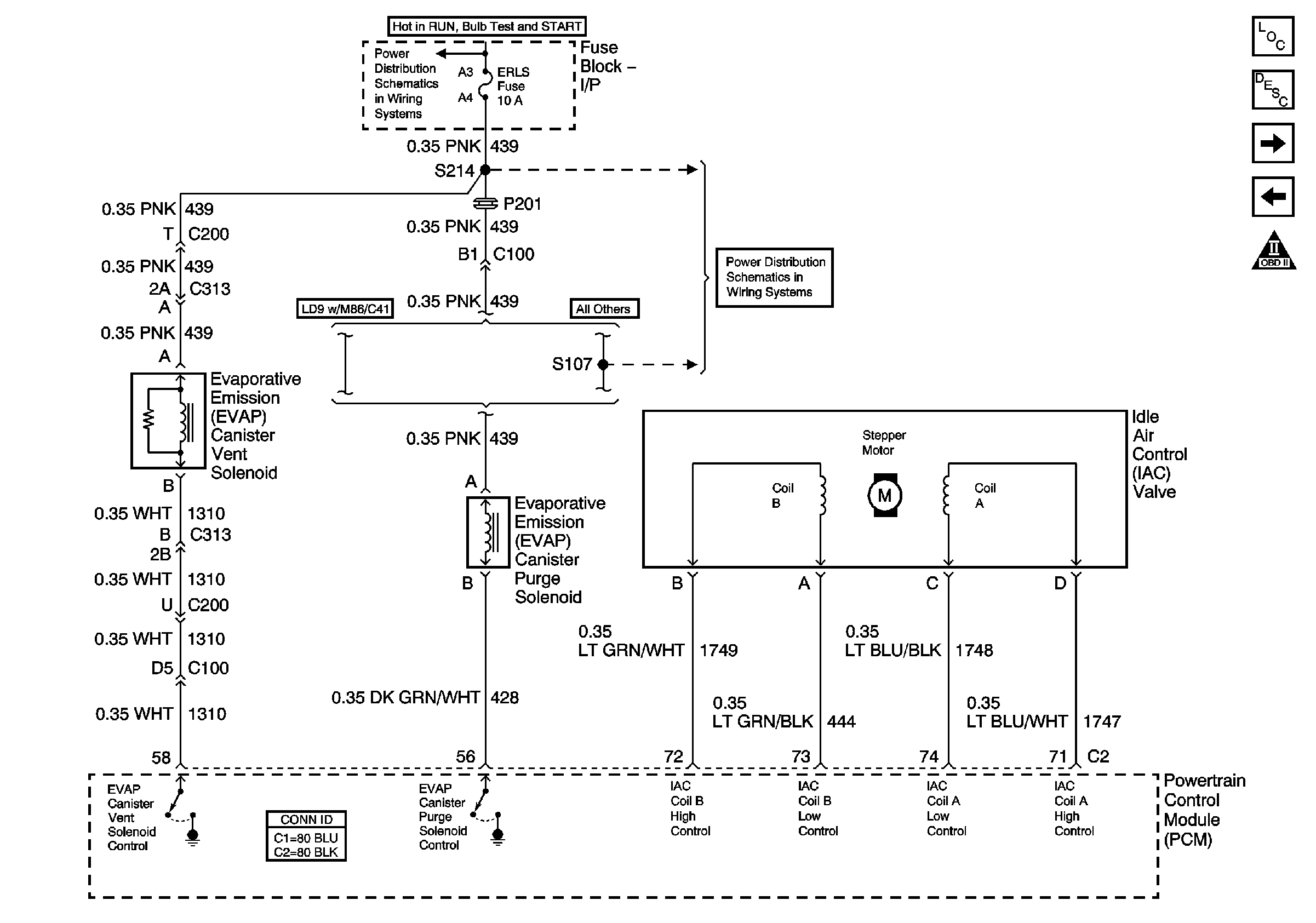
🢒 EVAP Controls
EVAP Controls
EVAP Controls
Master Electrical Component List
OBD II Symbol Description Notice
Engine Data Sensors - O2S and HO2S
Fuel Delivery
IP Fuse Block ERLS Fuse
IP Fuse Block ERLS Fuse
IP Fuse Block ERLS Fuse