GM Service Manual Online
For 1990-2009 cars only
Makes
🢒
Pontiac
🢒
2002
🢒
Sunfire
🢒
Restraints
🢒
Seat Belts
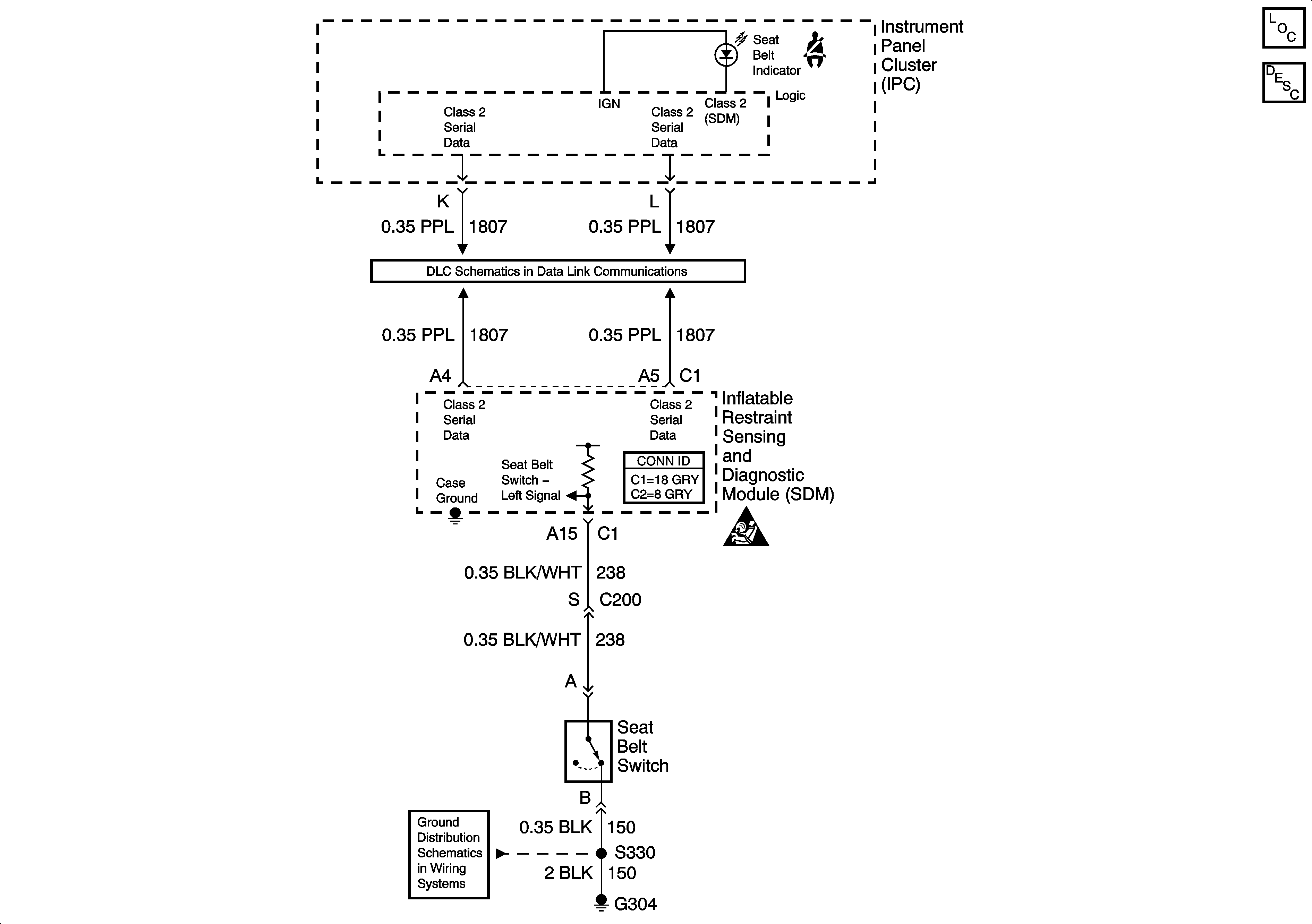
🢒 Seat Belt Schematics
Master Electrical Component List
PCM Ignition Control - VIN 1 and K
G304 - 1 of 2
SIR Handling Caution
Power, Ground and Serial Data