GM Service Manual Online
For 1990-2009 cars only
Makes
🢒
Pontiac
🢒
2002
🢒
Sunfire
🢒 Controlled/Monitored Subsystem References (1 of 3)
Controlled/Monitored Subsystem References (1 of 3)
Controlled/Monitored Subsystem References (1 of 3)
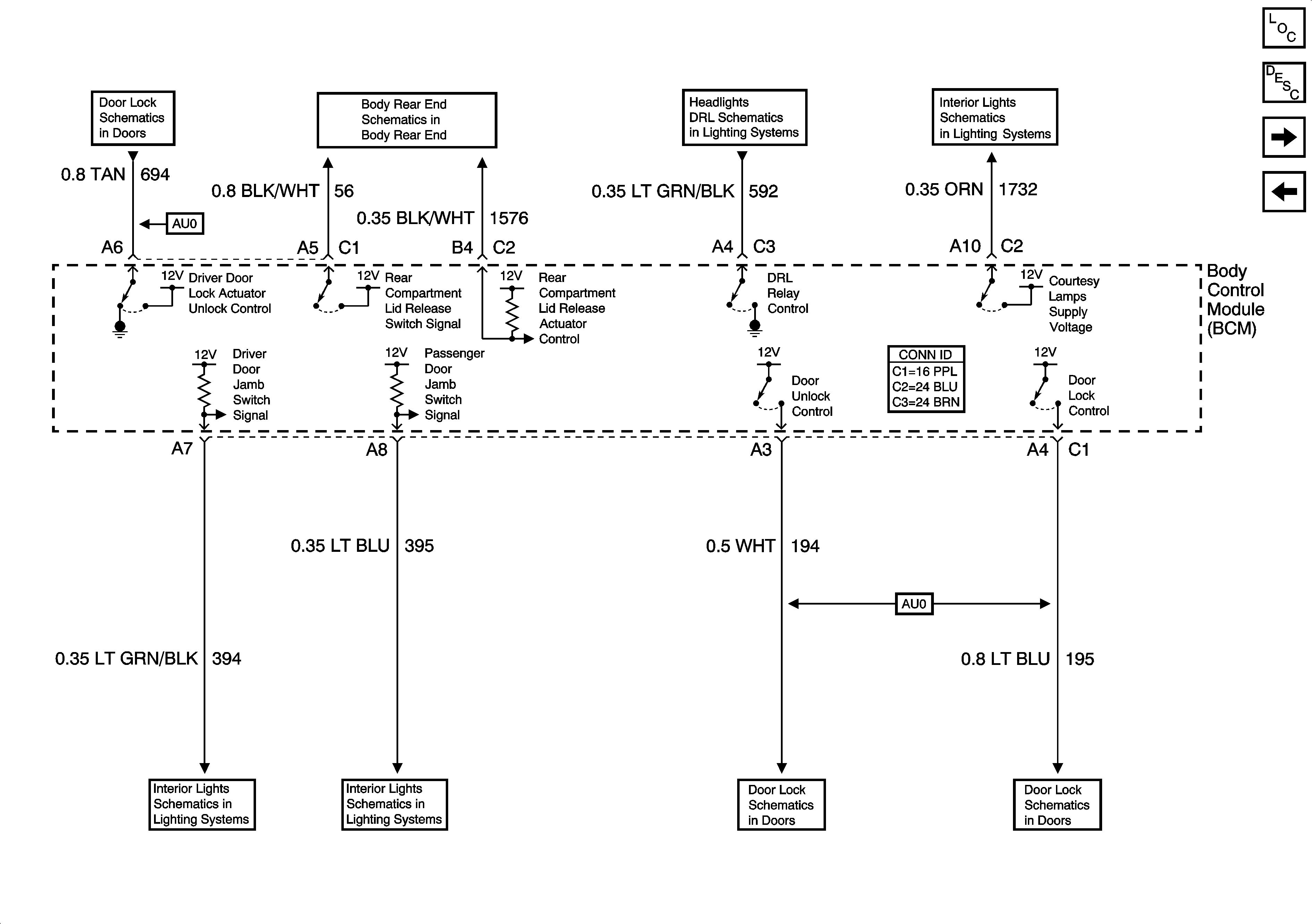
Master Electrical Component List
Body Control System Description and Operation
Controlled/Monitored Subsystem References (2 of 3)
Power, Ground and Serial Data
Keyless Entry
Body Rear End
Domestic and Indicators
Rear Compartment Lamp
Door Lock Motors (w/AUO)
Door Lock Motors (w/AUO)
Body Rear End
Switch and Controls (w/AUO)
Switch and Controls (w/AUO)
Keyless Entry
Keyless Entry